Запчасти Komatsu D39PX-21 ОТВАЛ (ДЛЯ ПОВОР. ОТВАЛА С ИЗМ. УГЛОМ И НАКЛОНЯЕМ. DOZER) РАБОЧЕЕ ОБОРУДОВАНИЕ

Схема запчастей Komatsu D39PX-21 - ОТВАЛ (ДЛЯ ПОВОР. ОТВАЛА С ИЗМ. УГЛОМ И НАКЛОНЯЕМ. DOZER) РАБОЧЕЕ ОБОРУДОВАНИЕ
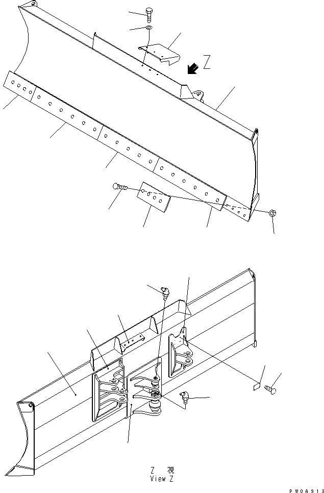
1
2
3
4
5
6
7
7
8
8
9
10
11
12
12
13
14
15
16
17
FIT
1:1
100%

Артикул

Название

Примечание

Количество

1

11Y-72-12102

BLADE ASS'Y

SN: 1001-UP

1шт.

2

0

BLADE

SN: 1001-UP

1шт.

3

11Y-72-12132

BRACKET,L.H. (WELDED)

SN: 1001-UP

1шт.

4

11Y-72-12141

BRACKET,R.H. (WELDED)

SN: 1001-UP

1шт.

5

11Y-72-12152

BRACKET (WELDED)

SN: 1001-UP

1шт.

6

11Y-72-12270

BRACKET (WELDED)

SN: 1001-UP

1шт.

7

112-946-1510

BIT

SN: 1001-UP

2шт.

8

12F-70-31261

EDGE

SN: 1001-UP

2шт.

9

12F-70-31251

EDGE

SN: 1001-UP

1шт.

10

02090-11055

BOLT

SN: 1001-UP

25шт.

11

02290-11016

NUT

SN: 1001-UP

25шт.

12

07020-00675

FITTING

SN: 1001-UP

2шт.

13

11Y-72-12180

COVER

SN: 1001-UP

1шт.

14

01010-81230

BOLT

SN: 1001-UP

3шт.

15

01643-31232

WASHER

SN: 1001-UP

3шт.

16

09601-60000

PLATE¤ NAME,(LIMITED SUPPLY)

SN: 1001-UP

1шт.

17

04418-13060

SCREW

SN: 1001-UP

4шт.

Выбрано товаров: 17