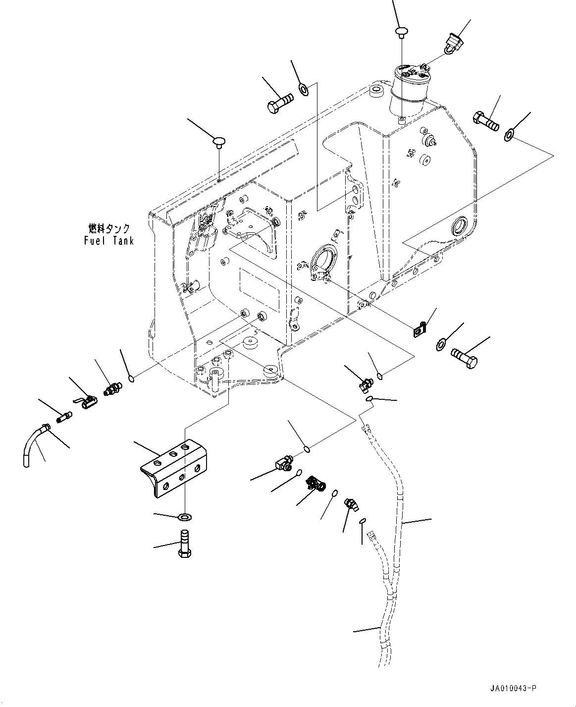
Запчасти Komatsu D39PX-23 ТОПЛИВН. БАК., КЛАПАН И КОРПУС (№9-) ТОПЛИВН. БАК.

Схема запчастей Komatsu D39PX-23 - ТОПЛИВН. БАК., КЛАПАН И КОРПУС (№9-) ТОПЛИВН. БАК.
4
4
6
8
22
23
14
15
1
3
5
28
29
21
20
19
18
17
24
25
27
13
26
26
16
7
9
10
12
11
2
FIT
1:1
100%

Артикул

Название

Примечание

Количество

1

14X-04-21630

Elbow

SN: 90001-UP

1шт.

2

07002-12034

O-ring

SN: 90001-UP

1шт.

3

11Y-04-41621

Valve

SN: 90001-UP

1шт.

4

07002-12034

O-ring

SN: 90001-UP

2шт.

5

02783-10315

Elbow

SN: 90001-UP

1шт.

6

02896-11009

O-ring

SN: 90001-UP

1шт.

7

205-62-74690

Nipple

SN: 90001-UP

1шт.

8

07002-11423

O-ring

SN: 90001-UP

1шт.

9

07700-40240

Valve

SN: 90001-UP

1шт.

10

120-04-41130

Nipple

SN: 90001-UP

1шт.

11

07270-01015

Tube

SN: 90001-UP

1шт.

12

07285-00115

Clip

SN: 90001-UP

1шт.

13

02782-10315

Elbow

SN: 90001-UP

1шт.

14

07002-12034

O-ring

SN: 90001-UP

1шт.

15

02896-11009

O-ring

SN: 90001-UP

1шт.

16

04434-50510

Clip

SN: 90001-UP

1шт.

17

01010-81016

Bolt

SN: 90001-UP

1шт.

18

01643-31032

Washer

SN: 90001-UP

1шт.

19

11Y-04-41141

Bracket

SN: 90001-UP

1шт.

20

01010-82045

Bolt

SN: 90001-UP

6шт.

21

01643-32060

Washer

SN: 90001-UP

6шт.

22

01010-82045

Bolt

SN: 90001-UP

4шт.

23

01643-32060

Washer

SN: 90001-UP

4шт.

24

01010-82050

Bolt

SN: 90001-UP

2шт.

25

01643-32060

Washer

SN: 90001-UP

2шт.

26

416-54-21710

Plug

SN: 90001-UP

2шт.

27

17A-04-41440

Lock

SN: 90001-UP

1шт.

28

11Y-04-41211

Hose

SN: UP

-1шт.

29

11Y-04-41221

Hose

SN: UP

-1шт.

Выбрано товаров: 29