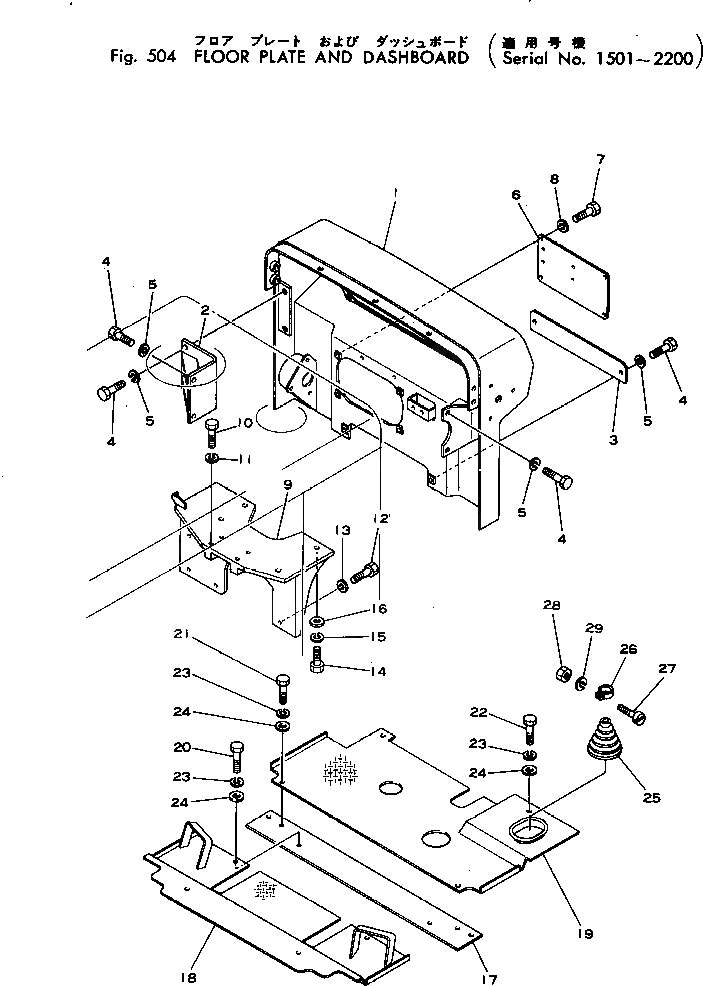
Запчасти Komatsu D40A-1 ПОЛ КАБИНЫ И ПРИБОРНАЯ ПАНЕЛЬ(№-) ЧАСТИ КОРПУСА

Схема запчастей Komatsu D40A-1 - ПОЛ КАБИНЫ И ПРИБОРНАЯ ПАНЕЛЬ(№-) ЧАСТИ КОРПУСА
FIT
1:1
100%

Артикул

Название

Примечание

Количество

1

124-54-21350

DASHBOARD

SN: 1563-2200

1шт.

1

12F-54-11250

DASHBOARD

SN: 1501-1562

1шт.

2

12F-54-11270

BRACKET

SN: 1501-2200

1шт.

3

12F-54-11260

PLATE

SN: 1501-2200

1шт.

4

01010-31225

BOLT

SN: 1501-2200

8шт.

5

01602-01236

WASHER,SPRING

SN: 1501-2200

8шт.

6

12F-54-11280

PLATE

SN: 1501-2200

1шт.

7

01010-30820

BOLT

SN: 1501-2200

4шт.

8

01602-00825

WASHER,SPRING

SN: 1501-2200

4шт.

9

124-54-23290

BRACKET

SN: 1501-2200

1шт.

10

01010-31260

BOLT

SN: 1501-@

4шт.

11

01602-01236

WASHER,SPRING

SN: 1501-@

4шт.

12

01010-31025

BOLT

SN: 1501-2200

6шт.

13

01602-01030

WASHER,SPRING

SN: 1501-@

6шт.

14

01010-31440

BOLT

SN: 1501-@

4шт.

15

01602-01442

WASHER,SPRING

SN: 1501-@

4шт.

16

01643-31445

WASHER

SN: 1501-@

4шт.

17

12F-54-11630

PLATE,FLOOR

SN: 1501-2200

1шт.

18

12F-54-11610

PLATE,FLOOR

SN: 1501-2200

1шт.

19

12F-54-11620

PLATE,FLOOR

SN: 1501-2200

1шт.

20

01010-31230

BOLT

SN: 1501-2200

6шт.

21

01010-31225

BOLT

SN: 1501-@

3шт.

22

01010-31255

BOLT

SN: 1501-2200

1шт.

23

01602-01236

WASHER,SPRING

SN: 1501-@

10шт.

24

01643-31232

WASHER

SN: 1501-@

10шт.

25

180-14-12370

BOOT

SN: 1501-2200

1шт.

26

131-14-42940

CLAMP

SN: 1501-2200

1шт.

27

01210-40416

SCREW

SN: 1501-2200

1шт.

28

01580-00403

NUT

SN: 1501-2200

1шт.

29

01601-00410

WASHER,SPRING

SN: 1501-2200

1шт.

Выбрано товаров: 30