Запчасти Komatsu D40A-1 НИЖН. ЗАЩИТА ЧАСТИ КОРПУСА

Схема запчастей Komatsu D40A-1 - НИЖН. ЗАЩИТА ЧАСТИ КОРПУСА
FIT
1:1
100%

Артикул

Название

Примечание

Количество

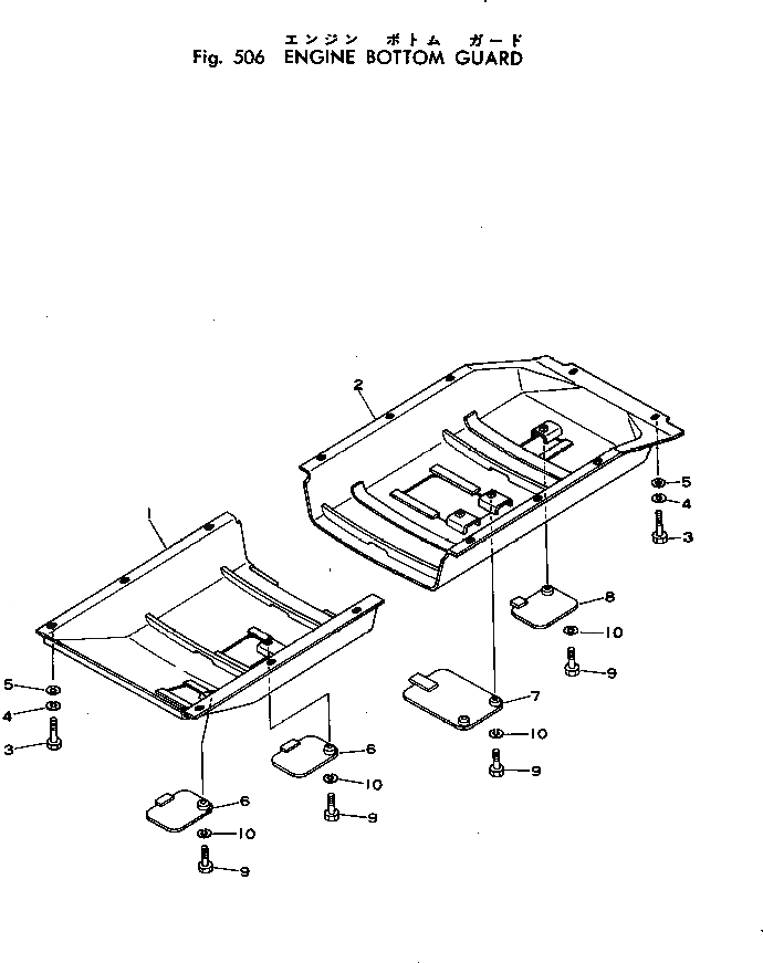
1

124-54-21311

GUARD

SN: 2201-UP

1шт.

1

120-54-24210

GUARD

SN: 1501-2200

1шт.

2

120-54-24221

GUARD

SN: 2201-UP

1шт.

2

120-54-24220

GUARD

SN: 1501-2200

1шт.

3

01010-31435

BOLT

SN: 1501-UP

14шт.

4

01602-01442

WASHER,SPRING

SN: 1501-UP

14шт.

5

01643-31445

WASHER

SN: 1501-UP

14шт.

6

125-54-24170

COVER

SN: 2201-UP

2шт.

6

125-54-21510

COVER

SN: 1501-2200

2шт.

7

125-54-21520

COVER

SN: 1501-UP

1шт.

8

125-54-21510

COVER

SN: 1501-UP

1шт.

9

01010-31225

BOLT

SN: 1501-UP

5шт.

10

01602-01236

WASHER,SPRING

SN: 1501-UP

5шт.

Выбрано товаров: 13