Запчасти Komatsu D40A-1 ГИДРАВЛ УПРАВЛЯЮЩ. КЛАПАН (/) УПРАВЛ-Е РАБОЧИМ ОБОРУДОВАНИЕМ

Схема запчастей Komatsu D40A-1 - ГИДРАВЛ УПРАВЛЯЮЩ. КЛАПАН (/) УПРАВЛ-Е РАБОЧИМ ОБОРУДОВАНИЕМ
FIT
1:1
100%

Артикул

Название

Примечание

Количество

|$0

124-60-21001

TANK ASS'Y

SN: 2201-UP

1шт.

|$1

0

TANK ASS'Y

SN: 1501-2200

1шт.

|$2

701-21-22000

VALVE ASS'Y

SN: 1501-UP

1шт.

|$3

701-21-38000

VALVE ASS'Y

SN: 1501-UP

1шт.

|$4

701-21-00050

BODY ASS'Y

SN: 1501-UP

1шт.

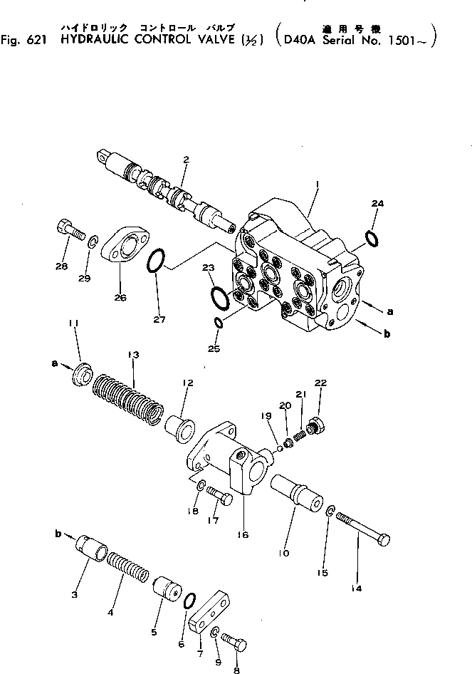
1

0

BODY,VALVE

SN: 1501-UP

1шт.

2

0

SPOOL

SN: 1501-UP

1шт.

3

701-21-31120

VALVE

SN: 1501-UP

1шт.

4

701-21-31130

SPRING

SN: 1501-UP

1шт.

5

701-21-31140

SEAT

SN: 1501-UP

1шт.

6

07000-13025

O-RING

SN: 1501-UP

1шт.

7

701-21-31150

PLATE

SN: 1501-UP

1шт.

8

01010-31235

BOLT

SN: 1501-UP

2шт.

9

01602-01236

WASHER,SPRING

SN: 1501-UP

2шт.

10

701-21-31170

DETENT

SN: 1501-UP

1шт.

11

701-21-31180

COLLAR

SN: 1501-UP

1шт.

12

701-21-31190

COLLAR

SN: 1501-UP

1шт.

13

701-21-31210

SPRING

SN: 1501-UP

1шт.

14

701-21-31220

BOLT

SN: 1501-UP

1шт.

15

01602-01030

WASHER,SPRING

SN: 1501-UP

1шт.

16

701-21-31230

CASE

SN: 1501-UP

1шт.

17

01010-31030

BOLT

SN: 1501-UP

2шт.

18

01602-01030

WASHER,SPRING

SN: 1501-UP

2шт.

19

701-33-31320

BALL

SN: 1501-UP

3шт.

20

701-33-31330

GUIDE

SN: 1501-UP

3шт.

21

701-13-31240

SPRING

SN: 1501-UP

3шт.

22

701-33-31350

PLUG

SN: 1501-UP

3шт.

23

07000-13035

O-RING

SN: 1501-UP

3шт.

24

07000-13028

O-RING

SN: 1501-UP

2шт.

25

07000-12014

O-RING

SN: 1501-UP

14шт.

26

701-21-31281

PLATE

SN: 1501-UP

1шт.

27

07000-13038

O-RING

SN: 1501-UP

1шт.

28

01010-31240

BOLT

SN: 1501-UP

2шт.

29

01602-01236

WASHER,SPRING

SN: 1501-UP

2шт.

Выбрано товаров: 34