Запчасти Komatsu S4D105-2B ПОРШЕНЬ И ШАТУН БЛОК ЦИЛИНДРОВ

Схема запчастей Komatsu S4D105-2B - ПОРШЕНЬ И ШАТУН БЛОК ЦИЛИНДРОВ
FIT
1:1
100%

Артикул

Название

Примечание

Количество

|$0

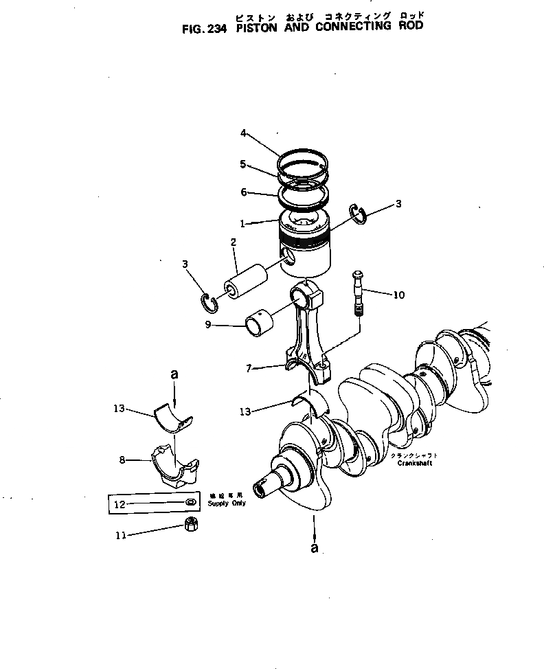
6131-31-2100

PISTON ASS'Y

SN: 18273-UP

4шт.

1

6131-31-2110

PISTON

SN: 18273-UP

1шт.

2

6130-31-2410

PIN,PISTON

SN: 18273-UP

1шт.

3

6130-31-2510

RING,SNAP

SN: 18273-UP

2шт.

|$4

6131-31-2201

PISTON RING ASS'Y

SN: .-UP

1шт.

|$5

0

PISTON RING ASS'Y

SN: 18273-.

1шт.

|$6

6131-31-2301

PISTON RING ASS'Y,PER CYLINDER

SN: .-UP

4шт.

|$7

0

PISTON RING ASS'Y,PER CYLINDER

SN: 18273-.

4шт.

4

0

RING,TOP

SN: .-UP

1шт.

4

0

RING,TOP

SN: 18273-.

1шт.

5

0

RING,SECOND

SN: 18273-UP

1шт.

6

0

RING,OIL

SN: 18273-UP

1шт.

6

0

RING,OIL

SN: 18273-UP

1шт.

6

0

COIL,RING

SN: 18273-UP

1шт.

|$14

6130-31-3101

CONNECTING ROD ASS'Y

SN: 18273-39999

4шт.

|$15

6130-31-3900

CONNECTING ROD ASS'Y,(SERVICE PARTS)

SN: 18273-UP

4шт.

7

0

ROD

SN: 18273-39999

1шт.

7

0

ROD,(SERVICE PARTS)

SN: 18273-UP

1шт.

8

0

CAP

SN: 18273-39999

1шт.

8

0

CAP,(SERVICE PARTS)

SN: 18273-UP

1шт.

9

6130-31-3130

BUSHING

SN: 18273-UP

1шт.

10

6130-31-3310

BOLT

SN: 18273-39999

2шт.

10

6110-31-3315

BOLT,(SERVICE PARTS)

SN: 18273-UP

2шт.

11

6130-31-3320

NUT

SN: 18273-39999

2шт.

11

6110-31-3322

NUT,(SERVICE PARTS)

SN: 18273-UP

2шт.

12

6114-31-3330

WASHER,(SERVICE PARTS)

SN: 18273-UP

2шт.

|$$27

STANDARD

-1шт.

13

6130-31-3041

CRANK PIN METAL A.

SN: .-UP

4шт.

13

0

CRANK PIN METAL A.

SN: 18273-.

4шт.

13

0

METAL

SN: .-UP

2шт.

13

0

METAL

SN: 18273-.

2шт.

|$$32

UNDERSIZE 0.25MM

-1шт.

13

6130-39-3041

CRANK PIN METAL A.

SN: UP

4шт.

13

0

CRANK PIN METAL A.

SN: 18273-.

4шт.

13

0

METAL

SN: .-UP

2шт.

13

0

METAL

SN: 18273-.

2шт.

|$$37

UNDERSIZE 0.50MM

-1шт.

13

6130-38-3041

CRANK PIN METAL A.

SN: .-UP

4шт.

13

0

CRANK PIN METAL A.

SN: 18273-.

4шт.

13

0

METAL

SN: .-UP

2шт.

13

0

METAL

SN: 18273-.

2шт.

|$$42

UNDERSIZE 0.75MM

-1шт.

13

6130-37-3041

CRANK PIN METAL A.

SN: .-UP

4шт.

13

0

CRANK PIN METAL A.

SN: 18273-.

4шт.

13

0

METAL

SN: .-UP

2шт.

13

0

METAL

SN: 18273-.

2шт.

|$$47

UNDERSIZE 1.00MM

-1шт.

13

6130-36-3041

CRANK PIN METAL A.

SN: .-UP

4шт.

13

0

CRANK PIN METAL A.

SN: 18273-.

4шт.

13

0

METAL

SN: .-UP

2шт.

13

0

METAL

SN: 18273-.

2шт.

|$0

6131-31-2100

PISTON ASS'Y

SN: 18273-UP

4шт.

1

6131-31-2110

PISTON

SN: 18273-UP

1шт.

2

6130-31-2410

PIN,PISTON

SN: 18273-UP

1шт.

3

6130-31-2510

RING,SNAP

SN: 18273-UP

2шт.

|$4

6131-31-2201

PISTON RING ASS'Y

SN: .-UP

1шт.

|$5

0

PISTON RING ASS'Y

SN: 18273-.

1шт.

|$6

6131-31-2301

PISTON RING ASS'Y,PER CYLINDER

SN: .-UP

4шт.

|$7

0

PISTON RING ASS'Y,PER CYLINDER

SN: 18273-.

4шт.

4

0

RING,TOP

SN: .-UP

1шт.

4

0

RING,TOP

SN: 18273-.

1шт.

5

0

RING,SECOND

SN: 18273-UP

1шт.

6

0

RING,OIL

SN: 18273-UP

1шт.

6

0

RING,OIL

SN: 18273-UP

1шт.

6

0

COIL,RING

SN: 18273-UP

1шт.

|$14

6130-31-3101

CONNECTING ROD ASS'Y

SN: 18273-39999

4шт.

|$15

6130-31-3900

CONNECTING ROD ASS'Y,(SERVICE PARTS)

SN: 18273-UP

4шт.

7

0

ROD

SN: 18273-39999

1шт.

7

0

ROD,(SERVICE PARTS)

SN: 18273-UP

1шт.

8

0

CAP

SN: 18273-39999

1шт.

8

0

CAP,(SERVICE PARTS)

SN: 18273-UP

1шт.

9

6130-31-3130

BUSHING

SN: 18273-UP

1шт.

10

6130-31-3310

BOLT

SN: 18273-39999

2шт.

10

6110-31-3315

BOLT,(SERVICE PARTS)

SN: 18273-UP

2шт.

11

6130-31-3320

NUT

SN: 18273-39999

2шт.

11

6110-31-3322

NUT,(SERVICE PARTS)

SN: 18273-UP

2шт.

12

6114-31-3330

WASHER,(SERVICE PARTS)

SN: 18273-UP

2шт.

|$$27

STANDARD

-1шт.

13

6130-31-3041

CRANK PIN METAL A.

SN: .-UP

4шт.

13

0

CRANK PIN METAL A.

SN: 18273-.

4шт.

13

0

METAL

SN: .-UP

2шт.

13

0

METAL

SN: 18273-.

2шт.

|$$32

UNDERSIZE 0.25MM

-1шт.

13

6130-39-3041

CRANK PIN METAL A.

SN: UP

4шт.

13

0

CRANK PIN METAL A.

SN: 18273-.

4шт.

13

0

METAL

SN: .-UP

2шт.

13

0

METAL

SN: 18273-.

2шт.

|$$37

UNDERSIZE 0.50MM

-1шт.

13

6130-38-3041

CRANK PIN METAL A.

SN: .-UP

4шт.

13

0

CRANK PIN METAL A.

SN: 18273-.

4шт.

13

0

METAL

SN: .-UP

2шт.

13

0

METAL

SN: 18273-.

2шт.

|$$42

UNDERSIZE 0.75MM

-1шт.

13

6130-37-3041

CRANK PIN METAL A.

SN: .-UP

4шт.

13

0

CRANK PIN METAL A.

SN: 18273-.

4шт.

13

0

METAL

SN: .-UP

2шт.

13

0

METAL

SN: 18273-.

2шт.

|$$47

UNDERSIZE 1.00MM

-1шт.

13

6130-36-3041

CRANK PIN METAL A.

SN: .-UP

4шт.

13

0

CRANK PIN METAL A.

SN: 18273-.

4шт.

13

0

METAL

SN: .-UP

2шт.

13

0

METAL

SN: 18273-.

2шт.

Выбрано товаров: 102