Запчасти Komatsu D40A-3 КАБИНА ROPS ЭЛЕКТРИЧ. ОПЦИОННЫЕ КОМПОНЕНТЫ

Схема запчастей Komatsu D40A-3 - КАБИНА ROPS ЭЛЕКТРИЧ. ОПЦИОННЫЕ КОМПОНЕНТЫ
FIT
1:1
100%

Артикул

Название

Примечание

Количество

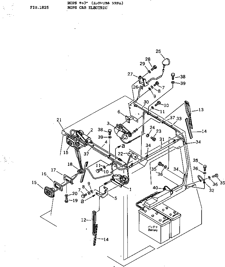
1

120-Y79-5111

MOTOR ASS'Y,L.H.

SN: 6001-UP

1шт.

|1

AM859908-1350

NUT,ARM

SN: 6001-UP

1шт.

2

120-Y79-5121

MOTOR ASS'Y,R.H.

SN: 6001-UP

1шт.

|2

AM859908-1350

NUT,ARM

SN: 6001-UP

1шт.

3

120-Y79-5141

MOTOR ASS'Y,REAR

SN: 6001-UP

1шт.

|3

AM859908-1350

NUT,ARM

SN: 6001-UP

1шт.

4

120-Y79-5130

CABLE

SN: 6001-UP

1шт.

5

120-Y79-5212

BRACKET,L.H.

SN: .-UP

1шт.

|5

0

BRACKET,L.H.

SN: 6001-.

1шт.

|5

120-Y79-5222

BRACKET,R.H.

SN: .-UP

1шт.

|5

0

BRACKET,R.H.

SN: 6001-.

1шт.

6

120-Y79-5381

BRACKET

SN: .-UP

1шт.

|6

0

BRACKET

SN: 6001-.

1шт.

7

01010-30616

BOLT

SN: 6001-UP

9шт.

8

01602-00619

WASHER,SPRING

SN: 6001-UP

9шт.

9

01643-30623

WASHER

SN: 6001-UP

9шт.

10

01010-31020

BOLT

SN: 6001-UP

6шт.

11

01602-01030

WASHER,SPRING

SN: 6001-UP

6шт.

12

08184-10550

ARM,WIPER

SN: 6001-UP

2шт.

13

08184-10500

ARM,WIPER¤ REAR

SN: 6001-UP

1шт.

14

08185-00400

BLADE,WIPER

SN: 6001-UP

3шт.

15

120-Y79-5150

LAMP ASS'Y

SN: 6001-UP

2шт.

|15

120-Y79-5160

BULB¤ 40W/45W

SN: 6001-UP

1шт.

16

120-Y79-5170

CUSHION

SN: 6001-UP

2шт.

17

120-Y79-5180

BRACKET

SN: 6001-UP

2шт.

18

08037-03614

GROMMET

SN: 6001-UP

2шт.

19

01220-40612

SCREW

SN: 6001-UP

4шт.

20

01602-00619

WASHER,SPRING

SN: 6001-UP

4шт.

21

120-Y79-5350

WIRE

SN: 6001-UP

1шт.

22

08142-22400

LAMP,ROOM

SN: 6001-UP

1шт.

|22

08110-12410

BULB¤ 12W

SN: 6001-UP

1шт.

23

01220-40620

SCREW

SN: 6001-UP

2шт.

24

01602-00619

WASHER,SPRING

SN: 6001-UP

2шт.

25

08128-22400

LAMP ASS'Y,REAR WORKING

SN: 6001-UP

1шт.

|25

08113-02480

BULB¤ 80W

SN: 6001-UP

1шт.

26

175-822-6980

WASHER

SN: 6001-UP

1шт.

27

120-Y79-5190

BRACKET

SN: 6001-UP

1шт.

28

01010-31030

BOLT

SN: 6001-UP

2шт.

29

01602-01030

WASHER,SPRING

SN: 6001-UP

2шт.

30

120-Y79-5340

WIRE

SN: 6001-UP

1шт.

31

120-Y79-5260

WIRE

SN: 6001-UP

1шт.

32

08028-14025

WIRE¤ 250MM

SN: 6001-UP

1шт.

33

08034-00414

BAND

SN: 6001-UP

15шт.

34

08036-02514

CLIP

SN: 6001-UP

5шт.

35

01010-31016

BOLT

SN: 6001-UP

7шт.

36

01602-01030

WASHER,SPRING

SN: 6001-UP

7шт.

37

08036-31214

CLIP

SN: 6001-UP

5шт.

38

01010-31016

BOLT

SN: 6001-UP

5шт.

39

01602-01030

WASHER,SPRING

SN: 6001-UP

5шт.

40

08037-01008

GROMMET

SN: 6001-UP

1шт.

Выбрано товаров: 50