Запчасти Komatsu D40A-3 МАРКИРОВКА (АНГЛ.) (ДЛЯ США) ЧАСТИ КОРПУСА

Схема запчастей Komatsu D40A-3 - МАРКИРОВКА (АНГЛ.) (ДЛЯ США) ЧАСТИ КОРПУСА
FIT
1:1
100%

Артикул

Название

Примечание

Количество

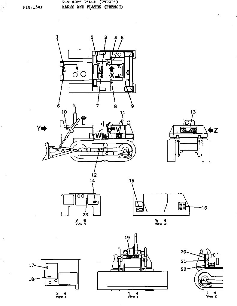
1

09668-03000

PLATE, SAFETY,RADIATOR

SN: 6001-UP

1шт.

2

09654-03000

PLATE, SAFETY,CAUTION

SN: 6001-UP

1шт.

3

09173-03000

PLATE, SAFETY,CAUTION

SN: 6001-UP

1шт.

4

09674-30071

PLATE, OPERATING,TRANSMISSION

SN: 6001-UP

1шт.

5

09670-00001

PLATE, OPERATING,WORK EQUIPMENT

SN: 6001-UP

1шт.

6

09650-30103

PLATE, INSTRUCTION,RADIATOR

SN: 6001-UP

1шт.

7

09651-03000

PLATE, SAFETY,BEFORE OPERATING

SN: 6001-UP

1шт.

8

09687-32570

PLATE, OPERATING,MAIN CLUTCH

SN: 6001-UP

1шт.

9

09652-30101

PLATE, CAUTION,FUEL TANK

SN: 6001-UP

1шт.

10

09667-03000

PLATE, SAFETY,ENGINE COVER

SN: 6001-UP

2шт.

11

09691-03402

PLATE, MARK,D40A

SN: 6001-UP

1шт.

12

09657-03010

PLATE, SAFETY,TRACK SHOE ADJUSTING

SN: 6001-UP

2шт.

13

09690-00630

PLATE, MARK,D40A

SN: 6001-UP

1шт.

14

09683-30060

PLATE, OPERATING,STARTING SWITCH

SN: 6001-UP

1шт.

15

09602-01635

PLATE, NAME,(LIMITED SUPPLY)

SN: 6001-UP

1шт.

15

04418-13060

SCREW

SN: 6001-UP

4шт.

16

120-54-36411

CHART, OIL

SN: 6001-UP

1шт.

17

09685-00001

PLATE, OPERATING,LEVER LOCK

SN: 6001-UP

1шт.

18

09685-00004

PLATE, OPERATING,BRAKE LOCK

SN: 6001-UP

1шт.

19

120-54-31211

PLATE, MARK,KOMATSU

SN: 6001-UP

1шт.

19

175-54-41420

SCREW

SN: 6001-UP

2шт.

19

175-54-41430

WASHER

SN: 6001-UP

2шт.

20

09653-03000

PLATE, SAFETY,HYDRAULIC TANK

SN: 6001-UP

1шт.

21

120-98-31131

PLATE, CAUTION,HYDRAULIC FILTER

SN: 6001-UP

1шт.

22

09691-03402

PLATE, MARK,D40A

SN: 6001-UP

1шт.

23

08670-50001

INDICATOR,DUST

SN: 6001-UP

1шт.

Выбрано товаров: 26