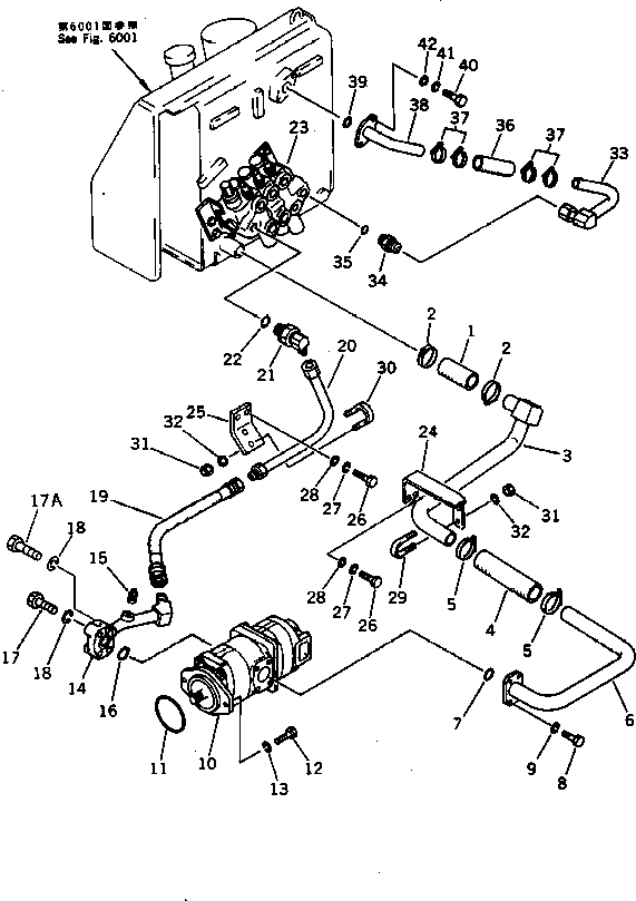
Запчасти Komatsu D40A-5 ГИДРОЛИНИЯ (ИЗ БАКА В НАСОС - КЛАПАН) УПРАВЛ-Е РАБОЧИМ ОБОРУДОВАНИЕМ

Схема запчастей Komatsu D40A-5 - ГИДРОЛИНИЯ (ИЗ БАКА В НАСОС - КЛАПАН) УПРАВЛ-Е РАБОЧИМ ОБОРУДОВАНИЕМ
FIT
1:1
100%

Артикул

Название

Примечание

Количество

1

07260-04111

HOSE

SN: 10001-UP

1шт.

2

07281-00609

CLAMP

SN: 10001-UP

2шт.

3

120-62-31161

TUBE

SN: 10001-UP

1шт.

4

07260-04122

HOSE

SN: 10001-UP

1шт.

5

07281-00609

CLAMP

SN: 10001-UP

2шт.

6

120-62-31171

TUBE

SN: 10001-UP

1шт.

7

07000-03048

O-RING

SN: 10001-UP

1шт.

8

01010-51240

BOLT

SN: 10001-UP

4шт.

9

01602-21236

WASHER,SPRING

SN: 10001-UP

4шт.

10

705-52-21000

PUMP ASS'Y,(SEE FIG.6101)

SN: 10001-UP

1шт.

11

07000-22105

O-RING

SN: 10001-UP

1шт.

12

01010-51235

BOLT

SN: 10001-UP

2шт.

13

01602-21236

WASHER,SPRING

SN: 10001-UP

2шт.

14

120-62-31431

TUBE

SN: 10001-UP

1шт.

15

07042-20108

PLUG

SN: 10001-UP

1шт.

16

07000-13030

O-RING

SN: 10001-UP

1шт.

17

01010-50840

BOLT

SN: 10001-UP

2шт.

17A

01010-50855

BOLT

SN: 10001-UP

2шт.

18

01602-20825

WASHER,SPRING

SN: 10001-UP

4шт.

19

07123-00605

HOSE

SN: 10001-UP

1шт.

20

120-62-31451

TUBE

SN: 10001-UP

1шт.

21

113-62-21240

ELBOW

SN: 10001-UP

1шт.

22

07002-13334

O-RING

SN: 10001-UP

1шт.

23

700-83-39000

CONTROL VALVE ASS'Y,(SEE FIG.6201)

SN: 10001-UP

1шт.

24

120-62-31412

BRACKET

SN: 10001-UP

1шт.

25

120-62-31681

PLATE

SN: 10001-UP

1шт.

26

01010-51035

BOLT

SN: 10001-UP

4шт.

27

01602-21030

WASHER,SPRING

SN: 10001-UP

4шт.

28

01643-31032

WASHER

SN: 10001-UP

4шт.

29

07283-24346

CLIP

SN: 10001-UP

1шт.

30

07283-22738

CLIP

SN: 10001-UP

1шт.

31

01599-01011

NUT

SN: 10001-UP

4шт.

32

01643-31032

WASHER

SN: 10001-UP

4шт.

33

120-62-31751

TUBE

SN: 10001-UP

1шт.

34

07230-11034

UNION

SN: 10001-UP

1шт.

35

07002-03334

O-RING

SN: 10001-UP

1шт.

36

203-62-22221

HOSE

SN: 10001-UP

1шт.

37

07281-00549

CLAMP

SN: 10001-UP

4шт.

38

120-62-31761

TUBE

SN: 10001-UP

1шт.

39

07000-03040

O-RING

SN: 10001-UP

1шт.

40

01010-51035

BOLT

SN: 10001-UP

2шт.

41

01602-21030

WASHER,SPRING

SN: 10001-UP

2шт.

42

01643-31032

WASHER

SN: 10001-UP

2шт.

Выбрано товаров: 43