Запчасти Komatsu D40A-5 ГИДРОЛИНИЯ (ЦИЛИНДР НАКЛОНА ЛИНИЯ) (ШАССИ) УПРАВЛ-Е РАБОЧИМ ОБОРУДОВАНИЕМ

Схема запчастей Komatsu D40A-5 - ГИДРОЛИНИЯ (ЦИЛИНДР НАКЛОНА ЛИНИЯ) (ШАССИ) УПРАВЛ-Е РАБОЧИМ ОБОРУДОВАНИЕМ
FIT
1:1
100%

Артикул

Название

Примечание

Количество

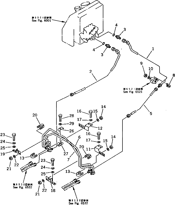
1

120-Y46-7441

TUBE

SN: 10001-UP

1шт.

2

120-62-35110

TUBE

SN: 10001-UP

1шт.

3

114-62-23110

NIPPLE

SN: 10001-UP

2шт.

4

07002-12434

O-RING

SN: 10001-UP

2шт.

5

120-62-35130

TUBE

SN: 10001-UP

1шт.

6

12F-62-41130

TUBE

SN: 10001-UP

1шт.

7

12F-62-41140

TUBE

SN: 10001-UP

1шт.

8

07283-21529

CLIP

SN: 10001-UP

1шт.

9

01598-00809

NUT

SN: 10001-UP

2шт.

10

01643-30823

WASHER

SN: 10001-UP

2шт.

11

120-62-35270

PLATE,L.H.

SN: 10001-UP

1шт.

12

120-62-35260

PLATE,R.H.

SN: 10001-UP

1шт.

13

07283-21529

CLIP

SN: 10001-UP

4шт.

14

01598-00809

NUT

SN: 10001-UP

8шт.

15

01643-30823

WASHER

SN: 10001-UP

8шт.

16

01010-51220

BOLT

SN: 10001-UP

4шт.

17

01602-21236

WASHER,SPRING

SN: 10001-UP

4шт.

18

12F-62-41161

BRACKET,L.H.

SN: 10001-UP

1шт.

19

12F-62-41151

BRACKET,R.H.

SN: 10001-UP

1шт.

20

07283-21529

CLIP

SN: 10001-UP

4шт.

21

01598-00809

NUT

SN: 10001-UP

8шт.

22

01643-30823

WASHER

SN: 10001-UP

8шт.

23

01010-51230

BOLT

SN: 10001-UP

4шт.

24

01602-21236

WASHER,SPRING

SN: 10001-UP

4шт.

25

01643-31232

WASHER

SN: 10001-UP

4шт.

26

T02-62-14610

CLAMP

SN: 10001-UP

1шт.

27

113-62-34140

CLIP

SN: 10001-UP

1шт.

28

01010-50820

BOLT

SN: 10001-UP

1шт.

29

01643-30823

WASHER

SN: 10001-UP

1шт.

Выбрано товаров: 0