Запчасти Komatsu D40A-5 СЦЕПКА РАБОЧЕЕ ОБОРУДОВАНИЕ

Схема запчастей Komatsu D40A-5 - СЦЕПКА РАБОЧЕЕ ОБОРУДОВАНИЕ
FIT
1:1
100%

Артикул

Название

Примечание

Количество

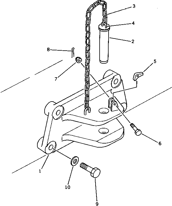
|1

131-69-41102

HITCH ASS'Y

SN: 10001-UP

1шт.

1

0

BRACKET

SN: 10001-UP

1шт.

2

130-69-11190

PIN

SN: 10001-UP

1шт.

3

09245-04830

CHAIN

SN: 10001-UP

1шт.

4

09245-50060

HOOK (WELDED)

SN: 10001-UP

2шт.

5

09249-00016

LATCH

SN: 10001-UP

1шт.

6

01052-51260

BOLT

SN: 10001-UP

1шт.

7

01592-11215

NUT

SN: 10001-UP

1шт.

8

04050-03020

PIN,COTTER

SN: 10001-UP

1шт.

9

01010-52490

BOLT

SN: 10001-UP

4шт.

10

01643-32460

WASHER

SN: 10001-UP

4шт.

Выбрано товаров: 11