Запчасти Komatsu D40A-5 ГУСЕНИЧНАЯ РАМА ГУСЕНИЦЫ

Схема запчастей Komatsu D40A-5 - ГУСЕНИЧНАЯ РАМА ГУСЕНИЦЫ
FIT
1:1
100%

Артикул

Название

Примечание

Количество

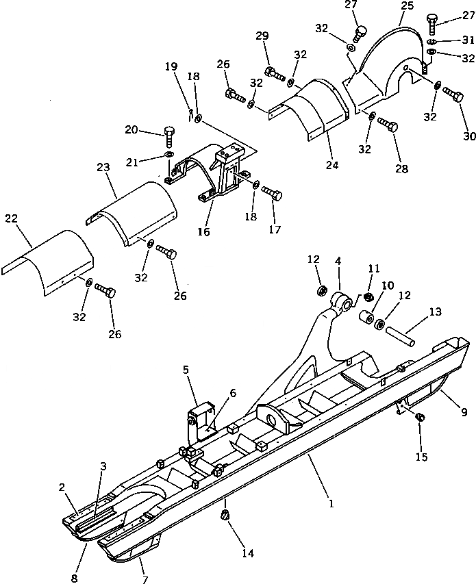
|1

120-30-00070

TRACK FRAME ASS'Y,L.H.

SN: 10001-UP

1шт.

|1

120-30-00080

TRACK FRAME ASS'Y,R.H.

SN: 10001-UP

1шт.

1

120-30-41510

FRAME,L.H.

SN: 10001-UP

1шт.

|1

120-30-41520

FRAME,R.H.

SN: 10001-UP

1шт.

2

125-30-11180

PLATE (WELDED)

SN: 10001-UP

2шт.

3

130-30-11134

PLATE (WELDED)

SN: 10001-UP

2шт.

4

125-30-21210

HEAD

SN: 10001-UP

1шт.

5

12F-30-41460

BRACKET (WELDED)

SN: 10001-UP

1шт.

6

124-30-21260

SEAT (WELDED)

SN: 10001-UP

1шт.

7

12F-30-31690

GUARD,OUTER¤ L.H. (WELDED)

SN: 10001-UP

1шт.

|7

12F-30-31710

GUARD,OUTER¤ R.H. (WELDED)

SN: 10001-UP

1шт.

8

12F-30-31710

GUARD,INNER¤ L.H. (WELDED)

SN: 10001-UP

1шт.

|8

12F-30-31690

GUARD,INNER¤ R.H. (WELDED)

SN: 10001-UP

1шт.

9

12F-30-31720

GUARD,L.H. (WELDED)

SN: 10001-UP

1шт.

|9

12F-30-31730

GUARD,R.H. (WELDED)

SN: 10001-UP

1шт.

10

125-30-21230

BUSHING

SN: 10001-UP

1шт.

11

07020-00000

FITTING,GREASE

SN: 10001-UP

2шт.

12

130-09-12790

SEAL,DUST

SN: 10001-UP

4шт.

13

125-30-21190

PIN

SN: 10001-UP

2шт.

14

07049-01620

PLUG

SN: 10001-UP

24шт.

15

07049-01418

PLUG

SN: 10001-UP

48шт.

16

12F-30-31650

SUPPORT

SN: 10001-UP

2шт.

17

141-30-17160

BOLT

SN: 10001-UP

2шт.

18

01640-21016

WASHER

SN: 10001-UP

4шт.

19

04050-13015

PIN,COTTER

SN: 10001-UP

2шт.

20

01010-51855

BOLT

SN: 10001-UP

8шт.

21

01643-31845

WASHER

SN: 10001-UP

8шт.

22

120-30-41460

COVER,L.H.

SN: 10001-UP

1шт.

|22

120-30-41450

COVER,R.H.

SN: 10001-UP

1шт.

23

120-30-41550

COVER,L.H.

SN: 10001-UP

1шт.

|23

120-30-41560

COVER,R.H.

SN: 10001-UP

1шт.

24

125-30-17130

COVER,L.H.

SN: 10001-UP

1шт.

|24

125-30-17140

COVER,R.H.

SN: 10001-UP

1шт.

25

130-813-5751

COVER,L.H.

SN: 10001-UP

1шт.

|25

130-813-5761

COVER,R.H.

SN: 10001-UP

1шт.

26

01010-51425

BOLT

SN: 10001-UP

20шт.

27

01010-51430

BOLT

SN: 10001-UP

6шт.

28

01010-51445

BOLT

SN: 10001-UP

2шт.

29

01010-51435

BOLT

SN: 10001-UP

2шт.

30

01010-51440

BOLT

SN: 10001-UP

2шт.

31

01602-21442

WASHER,SPRING

SN: 10001-UP

4шт.

32

01643-31445

WASHER

SN: 10001-UP

32шт.

Выбрано товаров: 42