Запчасти Komatsu D40AF-1 ПЕДАЛЬ ТОРМОЗА СИСТЕМАУПРАВЛЕНИЯ ПОВОРОТОМ И КОНЕЧНАЯ ПЕРЕДАЧА

Схема запчастей Komatsu D40AF-1 - ПЕДАЛЬ ТОРМОЗА СИСТЕМАУПРАВЛЕНИЯ ПОВОРОТОМ И КОНЕЧНАЯ ПЕРЕДАЧА
FIT
1:1
100%

Артикул

Название

Примечание

Количество

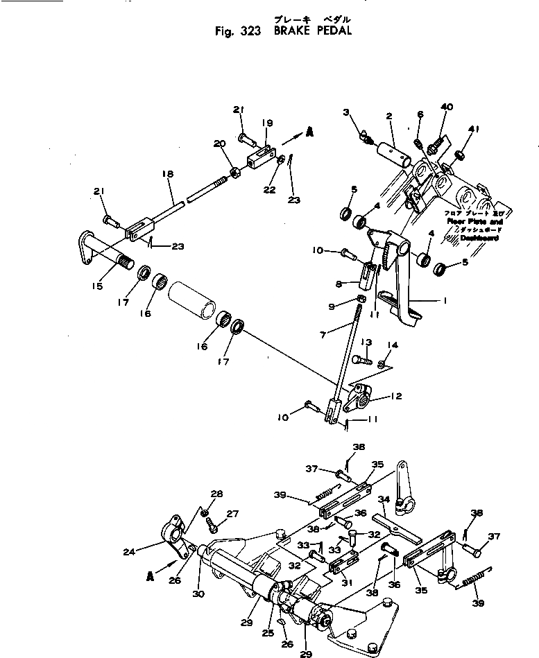
1

124-43-25832

PEDAL,BRAKE

SN: 2201-UP

1шт.

2

124-43-25821

PIN

SN: 2201-UP

1шт.

3

07020-00900

FITTING,GREASE

SN: 2201-UP

1шт.

4

06120-03020

BEARING,NEEDLE

SN: 2201-UP

2шт.

5

06122-03004

SEAL,BEARING

SN: 2201-UP

2шт.

6

01322-40812

SCREW

SN: 2201-UP

1шт.

7

04244-41234

ROD

SN: 2201-UP

1шт.

8

04210-21248

YOKE

SN: 2201-UP

1шт.

9

01582-01210

NUT

SN: 2201-UP

1шт.

10

04205-11235

PIN

SN: 2201-UP

2шт.

11

04050-13020

PIN,COTTER

SN: 2201-UP

2шт.

12

124-43-25871

LEVER

SN: 2201-UP

1шт.

13

01010-31245

BOLT

SN: 2201-UP

1шт.

14

01602-01236

WASHER,SPRING

SN: 2201-UP

1шт.

15

124-43-25862

LEVER

SN: 2201-UP

1шт.

16

06120-03020

BEARING,NEEDLE

SN: 2201-UP

2шт.

17

06122-03004

SEAL,BEARING

SN: 2201-UP

2шт.

18

04244-51268

ROD

SN: 2201-UP

1шт.

19

04211-21260

YOKE

SN: 2201-UP

1шт.

20

01580-01210

NUT

SN: 2201-UP

1шт.

21

04205-11235

PIN

SN: 2201-UP

2шт.

22

01642-01216

WASHER

SN: 2201-UP

1шт.

23

04050-13020

PIN,COTTER

SN: 2201-UP

2шт.

24

124-43-25561

LEVER

SN: 2201-UP

1шт.

25

124-43-22181

LEVER

SN: 2201-UP

1шт.

26

04010-01032

KEY

SN: 2201-UP

2шт.

27

01010-31245

BOLT

SN: 2201-UP

2шт.

28

01602-01236

WASHER,SPRING

SN: 2201-UP

2шт.

29

124-43-22191

LEVER

SN: 2201-UP

2шт.

30

124-43-25531

SHAFT

SN: 2201-UP

1шт.

31

124-43-22210

YOKE

SN: 2201-UP

1шт.

32

04205-11235

PIN

SN: 2201-UP

2шт.

33

04050-13020

PIN,COTTER

SN: 2201-UP

2шт.

34

124-43-22230

PLATE

SN: 2201-UP

1шт.

35

124-43-22220

YOKE

SN: 2201-UP

2шт.

36

103-33-11220

PIN

SN: 2201-UP

2шт.

37

04205-11235

PIN

SN: 2201-UP

2шт.

38

04050-13020

PIN,COTTER

SN: 2201-UP

4шт.

39

10E-43-12620

SPRING

SN: 2201-UP

2шт.

40

09311-31237

BUMPER

SN: 2201-UP

1шт.

41

01580-01210

NUT

SN: 2201-UP

1шт.

Выбрано товаров: 41