Запчасти Komatsu D40AF-1A БАЛКА БАЛАНСИРА ЧАСТИ КОРПУСА

Схема запчастей Komatsu D40AF-1A - БАЛКА БАЛАНСИРА ЧАСТИ КОРПУСА
FIT
1:1
100%

Артикул

Название

Примечание

Количество

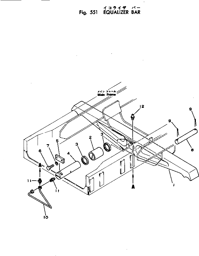
|1

124-50-00010

EQUALIZER BAR ASS'Y

SN: 2201-UP

1шт.

1

125-50-21150

BAR,EQUALIZER

SN: 2201-UP

1шт.

2

125-50-21170

BUSHING

SN: 2201-UP

1шт.

3

125-50-21180

SEAL,DUST

SN: 2201-UP

2шт.

4

125-50-21161

PIN

SN: 2201-UP

1шт.

5

04082-00514

LOCK,LOCK

SN: 2201-UP

1шт.

6

01018-31435

BOLT

SN: 2201-UP

2шт.

7

01602-01442

WASHER,SPRING

SN: 2201-UP

2шт.

8

112-50-11170

PIN

SN: 2201-UP

2шт.

9

04050-08050

PIN,COTTER

SN: 2201-UP

4шт.

10

124-50-21111

TUBE

SN: 2201-UP

1шт.

11

07213-50510

CONNECTOR

SN: 2201-UP

2шт.

12

07020-00000

FITTING,GREASE

SN: 2201-UP

1шт.

Выбрано товаров: 13