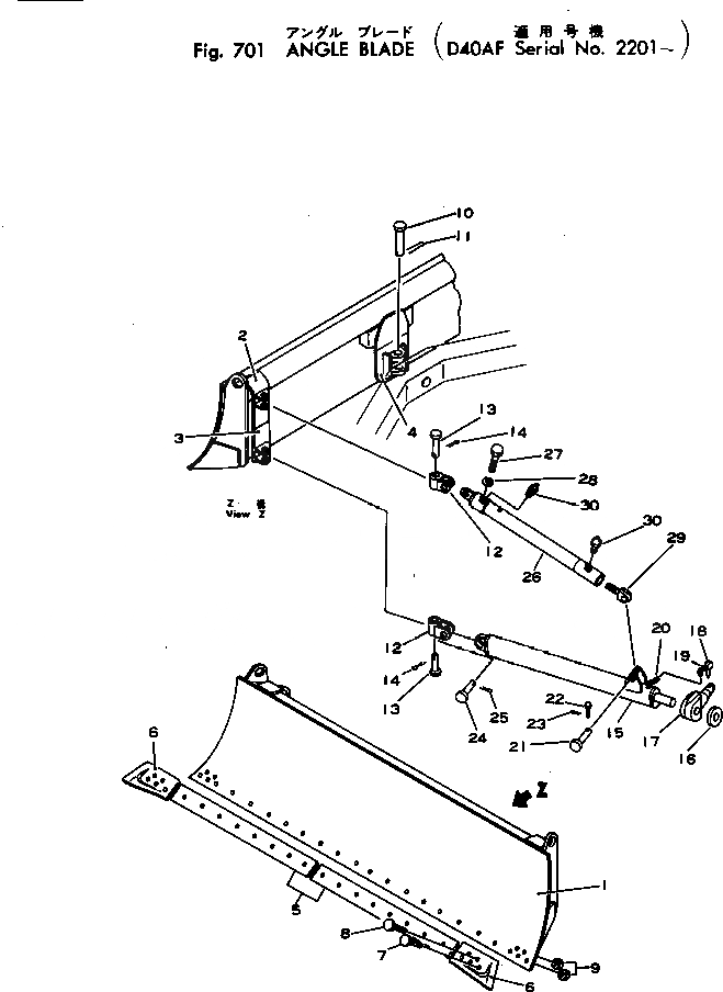
Запчасти Komatsu D40AF-1A ОТВАЛ С ИЗМ. УГЛОМ ПОВОРОТА РАБОЧЕЕ ОБОРУДОВАНИЕ

Схема запчастей Komatsu D40AF-1A - ОТВАЛ С ИЗМ. УГЛОМ ПОВОРОТА РАБОЧЕЕ ОБОРУДОВАНИЕ
FIT
1:1
100%

Артикул

Название

Примечание

Количество

1

124-70-31110

BLADE

SN: 2201-UP

1шт.

2

12F-Z26-1160

BRACKET,L.H. (WELDED)

SN: 2201-UP

1шт.

|2

12F-Z26-1170

BRACKET,R.H. (WELDED)

SN: 2201-UP

1шт.

3

124-70-21140

BRACKET,L.H. (WELDED)

SN: 2201-UP

1шт.

|3

124-70-21150

BRACKET,R.H. (WELDED)

SN: 2201-UP

1шт.

4

12F-Z26-1120

BRACKET,CENTER (WELDED)

SN: 2201-UP

1шт.

5

12F-70-11640

EDGE

SN: 2201-UP

2шт.

6

124-70-21170

BIT,END¤ L.H.

SN: 2201-UP

1шт.

|6

124-70-21180

BIT,END¤ R.H.

SN: 2201-UP

1шт.

7

02090-11060

BOLT

SN: 2201-UP

22шт.

8

02090-11085

BOLT

SN: 2201-UP

4шт.

9

02290-11016

NUT

SN: 2201-UP

26шт.

10

120-70-21210

PIN

SN: 2201-UP

1шт.

11

04050-08070

PIN,COTTER

SN: 2201-UP

1шт.

12

112-70-11221

JOINT

SN: 2201-UP

4шт.

13

112-70-11190

PIN

SN: 2201-UP

4шт.

14

04050-06050

PIN,COTTER

SN: 2201-UP

4шт.

15

120-70-22110

ARM

SN: 2201-UP

2шт.

16

120-70-22140

COLLAR

SN: 2201-UP

1шт.

17

130-70-12180

PIN

SN: 2201-UP

1шт.

18

130-70-12190

PIN

SN: 2201-UP

1шт.

19

09245-50060

HOOK

SN: 2201-UP

2шт.

20

09245-04830

CHAIN

SN: 2201-UP

1шт.

21

130-70-12221

PIN

SN: 2201-UP

2шт.

22

130-70-12231

PIN

SN: 2201-UP

2шт.

23

04050-05030

PIN,COTTER

SN: 2201-UP

2шт.

24

112-70-11210

PIN

SN: 2201-UP

2шт.

25

04050-06050

PIN,COTTER

SN: 2201-UP

2шт.

|26

124-70-00020

BRACE ASS'Y

SN: 2201-UP

2шт.

26

124-70-21320

BRACE,TILT

SN: 2201-UP

1шт.

27

130-70-52110

SCREW

SN: 2201-UP

1шт.

28

01602-01442

WASHER,SPRING

SN: 2201-UP

1шт.

29

124-70-21310

SCREW

SN: 2201-UP

1шт.

30

07020-00000

FITTING,GREASE

SN: 2201-UP

2шт.

Выбрано товаров: 34