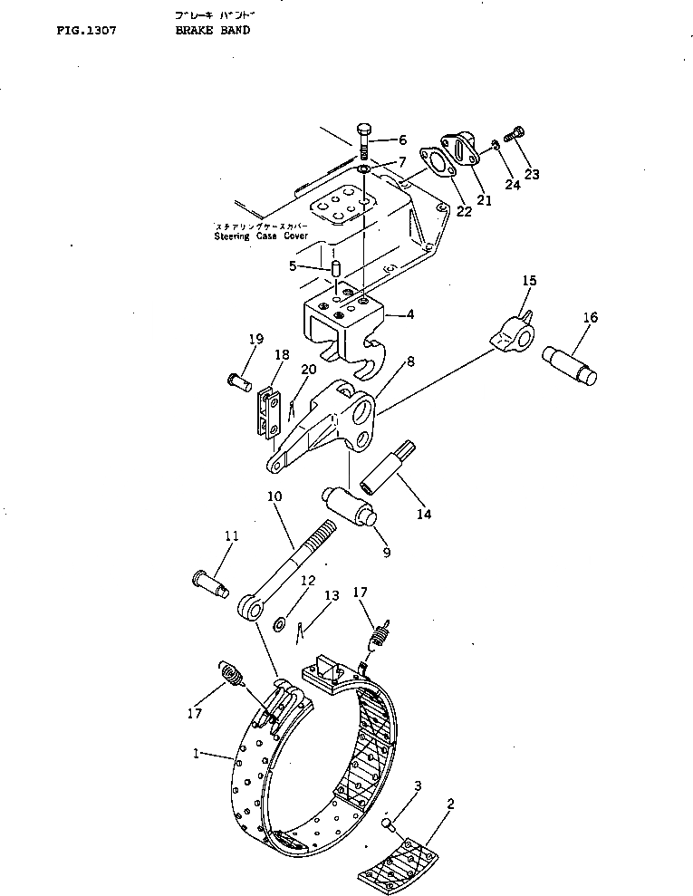
Запчасти Komatsu D40AM-3 ТОРМОЗНАЯ ЛЕНТА СИСТЕМАУПРАВЛЕНИЯ ПОВОРОТОМ И КОНЕЧНАЯ ПЕРЕДАЧА

Схема запчастей Komatsu D40AM-3 - ТОРМОЗНАЯ ЛЕНТА СИСТЕМАУПРАВЛЕНИЯ ПОВОРОТОМ И КОНЕЧНАЯ ПЕРЕДАЧА
FIT
1:1
100%

Артикул

Название

Примечание

Количество

|$0

120-33-31112

BAND ASS'Y

SN: 6001-UP

2шт.

1

0

BAND

SN: 6001-UP

1шт.

2

120-33-31131

LINING

SN: 6001-UP

7шт.

3

04412-00512

RIVET

SN: 6001-UP

56шт.

4

120-33-32181

ANCHOR

SN: 6001-UP

2шт.

5

04020-01228

PIN,DOWEL

SN: 6001-UP

4шт.

6

01010-31640

BOLT

SN: 6001-UP

8шт.

7

01643-31645

WASHER

SN: 6001-UP

8шт.

8

120-33-32171

LEVER

SN: 6001-UP

2шт.

9

120-33-32211

PIN

SN: 6001-UP

2шт.

10

120-33-32191

ROD

SN: 6001-UP

2шт.

11

120-33-32250

PIN

SN: 6001-UP

2шт.

12

01641-01626

WASHER

SN: 6001-UP

2шт.

13

04050-04025

PIN,COTTER

SN: 6001-UP

2шт.

14

120-33-32240

NUT

SN: 6001-UP

2шт.

15

120-33-32221

END

SN: 6001-UP

2шт.

16

144-33-11280

PIN

SN: 6001-UP

2шт.

17

131-33-41462

SPRING

SN: 6001-UP

4шт.

18

04213-01460

YOKE

SN: 6001-UP

2шт.

19

04205-01438

PIN

SN: 6001-UP

4шт.

20

04050-04025

PIN,COTTER

SN: 6001-UP

4шт.

21

113-33-22160

CAP

SN: 6001-UP

2шт.

22

113-33-22170

GASKET

SN: 6001-UP

2шт.

23

01010-31025

BOLT

SN: 6001-UP

4шт.

24

01602-01030

WASHER,SPRING

SN: 6001-UP

4шт.

Выбрано товаров: 25