Запчасти Komatsu D40AM-3 КОРПУС ТРАНСМИССИИ COVER ОСНОВН. МУФТА И ТРАНСМИССИЯ

Схема запчастей Komatsu D40AM-3 - КОРПУС ТРАНСМИССИИ COVER ОСНОВН. МУФТА И ТРАНСМИССИЯ
FIT
1:1
100%

Артикул

Название

Примечание

Количество

|1

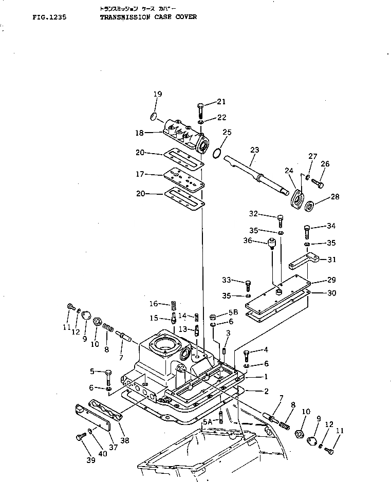
120-14-00010

TRANSMISSION ASS'Y D40A

SN: 6001-UP

1шт.

|1

120-14-00100

TRANSMISSION ASS'Y D40F

SN: 6001-UP

1шт.

|1

120-14-00151

TRANSMISSION ASS'Y D40AM

SN: .-UP

1шт.

|1

0

TRANSMISSION ASS'Y D40AM

SN: 6001-.

1шт.

|$$5

THESE ASSEMBLIES CONSIST OF ALL PARTS SHOWN IN FIGS.1231 TO 1237.

-1шт.

1

120-14-35111

CASE

SN: 6001-UP

1шт.

2

120-14-35121

GASKET (KIT)

SN: 6001-UP

1шт.

3

141-14-32260

PIN,DOWEL

SN: 6001-UP

2шт.

4

01010-31030

BOLT

SN: 6001-UP

13шт.

5

01010-31065

BOLT

SN: 6001-UP

1шт.

5A

01144-51025

STUD

SN: 6001-UP

1шт.

5B

01580-11008

NUT

SN: 6001-UP

1шт.

6

01602-01030

WASHER,SPRING

SN: 6001-UP

15шт.

7

141-14-32331

STOPPER

SN: 6001-UP

2шт.

8

141-14-32340

SPRING

SN: 6001-UP

2шт.

9

141-14-32360

COVER

SN: 6001-UP

2шт.

10

141-14-32350

GASKET (KIT)

SN: 6001-UP

2шт.

11

01010-31025

BOLT

SN: 6001-UP

4шт.

12

01602-01030

WASHER,SPRING

SN: 6001-UP

4шт.

13

141-14-32371

PLUNGER

SN: 6001-UP

3шт.

14

120-14-35540

SPRING

SN: 6001-UP

3шт.

15

141-14-32270

PLUNGER

SN: 6001-UP

1шт.

16

120-14-35530

SPRING

SN: 6001-UP

1шт.

17

141-14-32471

PLATE

SN: 6001-UP

1шт.

18

141-14-32412

COVER

SN: 6001-UP

1шт.

19

07046-03520

PLUG

SN: 6001-UP

1шт.

20

141-14-32432

GASKET (KIT)

SN: 6001-UP

2шт.

21

01010-31070

BOLT

SN: 6001-UP

6шт.

22

01602-01030

WASHER,SPRING

SN: 6001-UP

6шт.

23

120-14-23180

SHAFT

SN: 6001-UP

1шт.

24

120-14-23190

FLANGE

SN: 6001-UP

1шт.

25

07000-03048

O-RING (KIT)

SN: 6001-UP

1шт.

26

01010-31035

BOLT

SN: 6001-UP

2шт.

27

01602-01030

WASHER,SPRING

SN: 6001-UP

2шт.

28

07012-00025

SEAL,OIL (KIT)

SN: 6001-UP

1шт.

29

120-14-35132

COVER

SN: 6001-UP

1шт.

30

141-14-32461

GASKET (KIT)

SN: 6001-UP

1шт.

31

120-14-35260

PLATE

SN: 6001-UP

1шт.

32

01010-31016

BOLT

SN: 6001-UP

1шт.

33

01010-31025

BOLT

SN: 6001-UP

5шт.

34

01010-31040

BOLT

SN: 6001-UP

2шт.

35

01602-01030

WASHER,SPRING

SN: 6001-UP

8шт.

36

07030-00252

BREATHER

SN: 6001-UP

1шт.

37

120-14-35161

PLATE

SN: 6001-UP

1шт.

38

141-14-32521

GASKET (KIT)

SN: 6001-UP

1шт.

39

01010-31025

BOLT

SN: 6001-UP

4шт.

40

01602-01030

WASHER,SPRING

SN: 6001-UP

4шт.

Выбрано товаров: 47