Запчасти Komatsu D40AM-3 МАРКИРОВКА (ЯПОН.) ЧАСТИ КОРПУСА

Схема запчастей Komatsu D40AM-3 - МАРКИРОВКА (ЯПОН.) ЧАСТИ КОРПУСА
FIT
1:1
100%

Артикул

Название

Примечание

Количество

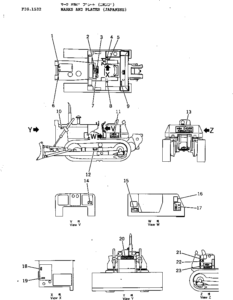
1

09668-00100

PLATE¤ SAFETY,RADIATOR

SN: 6001-UP

1шт.

2

09654-00100

PLATE¤ SAFETY,CAUTION

SN: 6001-UP

1шт.

3

09173-00100

PLATE¤ SAFETY,CAUTION

SN: 6001-UP

1шт.

4

09674-00071

PLATE¤ OPERATING,TRANSMISSION

SN: 6001-UP

1шт.

5

09670-00001

PLATE¤ OPERATING,WORK EQUIPMENT

SN: 6001-UP

1шт.

6

09650-01103

PLATE¤ INSTRUCTION,RADIATOR

SN: 6001-UP

1шт.

7

09651-00100

PLATE¤ SAFETY,BEFORE OPERATING

SN: 6001-UP

1шт.

8

09687-32570

PLATE¤ OPERATING,MAIN CLUTCH

SN: 6001-UP

1шт.

9

09652-01101

PLATE¤ CAUTION,FUEL TANK

SN: 6001-UP

1шт.

10

09667-00100

PLATE¤ SAFETY,ENGINE COVER

SN: 6001-UP

2шт.

11

09691-4640N

PLATE¤ MARK,D40AM

SN: 6001-UP

1шт.

12

09657-00110

PLATE¤ SAFETY,TRACK SHOE ADJUSTING

SN: 6001-UP

2шт.

13

09692-4940N

PLATE¤ MARK,D40AM

SN: 6001-UP

1шт.

14

09683-01060

PLATE¤ OPERATING,STARTING SWITCH

SN: 6001-UP

1шт.

15

09602-01635

PLATE¤ NAME,(LIMITED SUPPLY)

SN: 6001-UP

1шт.

|15

04418-13060

SCREW

SN: 6001-UP

4шт.

16

120-54-39111

PLATE

SN: 6001-UP

1шт.

17

120-54-36111

CHART¤ OIL

SN: 6001-UP

1шт.

18

09685-00001

PLATE¤ OPERATING,LEVER LOCK

SN: 6001-UP

1шт.

19

09685-00004

PLATE¤ OPERATING,BRAKE LOCK

SN: 6001-UP

1шт.

20

120-54-31211

PLATE¤ MARK,KOMATSU

SN: 6001-UP

1шт.

|20

175-54-41420

SCREW

SN: 6001-UP

2шт.

|20

175-54-41430

WASHER

SN: 6001-UP

2шт.

21

09653-00100

PLATE¤ SAFETY,HYDRAULIC TANK

SN: 6001-UP

1шт.

22

120-54-36121

PLATE¤ CAUTION,HYDRAULIC FILTER

SN: 6001-UP

1шт.

23

09691-4640N

PLATE¤ MARK,D40AM

SN: 6001-UP

1шт.

Выбрано товаров: 0