Запчасти Komatsu D40AM-5 НАСОС РУЛЕВ. УПРАВЛ-Я СИСТЕМА УПРАВЛЕНИЯ

Схема запчастей Komatsu D40AM-5 - НАСОС РУЛЕВ. УПРАВЛ-Я СИСТЕМА УПРАВЛЕНИЯ
FIT
1:1
100%

Артикул

Название

Примечание

Количество

|1

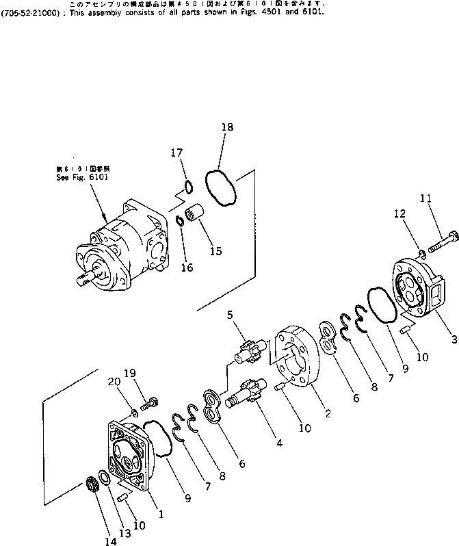
705-52-21000

PUMP ASS'Y,(SEE FIG.6101)

SN: 10001-UP

1шт.

|$$2

THIS ASSEMBLY CONSISTS OF ALL PARTS SHOWN IN FIGS.4501 AND 6101.

-1шт.

|1

705-14-28830

PUMP ASS'Y,STEERING (SAR025)

SN: 10001-UP

1шт.

1

0

BRACKET

SN: 10001-UP

1шт.

2

0

CASE,GEAR

SN: 10001-UP

1шт.

3

0

COVER ASS'Y

SN: 10001-UP

1шт.

4

0

GEAR,DRIVE

SN: 10001-UP

1шт.

5

0

GEAR,DRIVEN

SN: 10001-UP

1шт.

6

0

PLATE,SIDE

SN: 10001-UP

2шт.

7

0

RING,BACK-UP

SN: 10001-UP

2шт.

8

0

RING,SEAL

SN: 10001-UP

2шт.

9

0

O-RING

SN: 10001-UP

2шт.

10

0

PIN,DOWEL

SN: 10001-UP

6шт.

11

0

BOLT

SN: 10001-UP

4шт.

12

0

WASHER,SPRING

SN: 10001-UP

4шт.

13

705-17-02870

PLATE

SN: 10001-UP

1шт.

14

705-17-02850

SEAL,OIL

SN: 10001-UP

1шт.

15

705-17-02310

COUPLING

SN: 10001-UP

1шт.

16

04065-02012

RING,SNAP

SN: 10001-UP

1шт.

17

705-17-02390

O-RING

SN: 10001-UP

1шт.

18

705-17-02480

O-RING

SN: 10001-UP

1шт.

19

705-17-02374

BOLT

SN: 10001-UP

4шт.

20

01602-21030

WASHER,SPRING

SN: 10001-UP

4шт.

Выбрано товаров: 23