Запчасти Komatsu D40AM-5 ROPS КОРПУС(№7-) ЧАСТИ КОРПУСА

Схема запчастей Komatsu D40AM-5 - ROPS КОРПУС(№7-) ЧАСТИ КОРПУСА
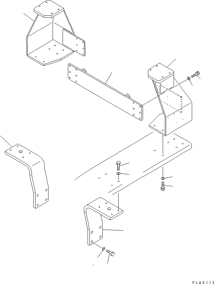
1
1
2
3
4
5
6
6
7
8
9
10
11
FIT
1:1
100%

Артикул

Название

Примечание

Количество

1

120-Y78-4270

BRACKET,L.H.

SN: 10271-UP

1шт.

|1

120-Y78-4280

BRACKET,R.H.

SN: 10271-UP

1шт.

2

01010-52470

BOLT

SN: 10271-UP

8шт.

3

01643-32460

WASHER

SN: 10271-UP

8шт.

4

01010-51635

BOLT

SN: 10271-UP

8шт.

5

01643-31645

WASHER

SN: 10271-UP

8шт.

6

124-Y78-3111

BRACKET,L.H.

SN: 10271-UP

1шт.

|6

124-Y78-3121

BRACKET,R.H.

SN: 10271-UP

1шт.

7

01010-51650

BOLT

SN: 10271-UP

12шт.

8

01643-31645

WASHER

SN: 10271-UP

12шт.

9

124-Y78-3132

PLATE

SN: 10271-UP

1шт.

10

01010-51640

BOLT

SN: 10271-UP

12шт.

11

01643-31645

WASHER

SN: 10271-UP

12шт.

Выбрано товаров: 13