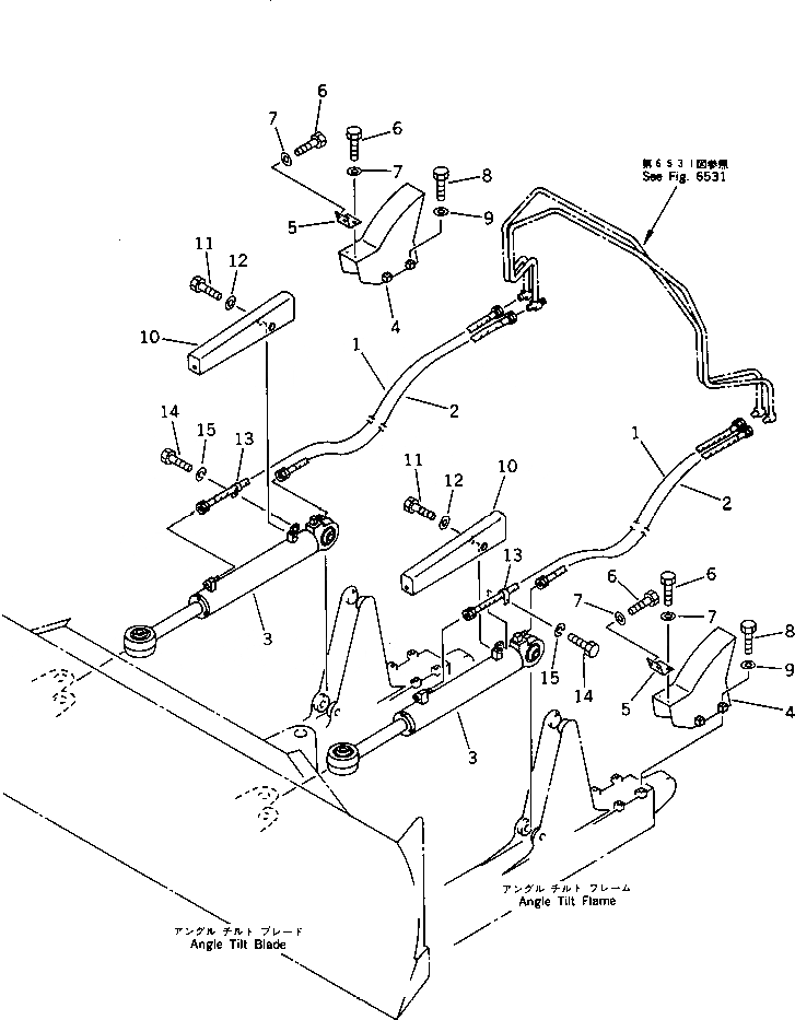
Запчасти Komatsu D40AM-5 ГИДРОЛИНИЯ (ЦИЛИНДР НАКЛОНА ЛИНИЯ) (DOZER ) РАБОЧЕЕ ОБОРУДОВАНИЕ

Схема запчастей Komatsu D40AM-5 - ГИДРОЛИНИЯ (ЦИЛИНДР НАКЛОНА ЛИНИЯ) (DOZER ) РАБОЧЕЕ ОБОРУДОВАНИЕ
FIT
1:1
100%

Артикул

Название

Примечание

Количество

1

12F-62-42430

HOSE

SN: 10001-UP

2шт.

2

12F-62-42440

HOSE

SN: 10001-UP

2шт.

3

124-63-02032

CYLINDER ASS'Y,ANGLE (SEE FIG.7013)

SN: 10001-UP

2шт.

4

12F-62-42210

COVER

SN: 10001-UP

2шт.

5

12F-62-42240

PLATE

SN: 10001-UP

2шт.

6

01010-81225

BOLT

SN: 10001-UP

8шт.

7

01602-21236

WASHER,SPRING

SN: 10001-UP

8шт.

8

01010-81250

BOLT

SN: 10001-UP

8шт.

9

01602-21236

WASHER,SPRING

SN: 10001-UP

8шт.

10

120-62-41120

COVER

SN: 10142-UP

2шт.

|10

0

COVER

SN: 10001-10141

2шт.

11

01010-81220

BOLT

SN: 10001-UP

6шт.

12

01602-21236

WASHER

SN: 10001-UP

6шт.

13

08036-22514

CLIP,CLIP

SN: 10001-UP

2шт.

14

01010-81020

BOLT

SN: 10001-UP

2шт.

15

01643-31032

WASHER

SN: 10001-UP

2шт.

Выбрано товаров: 16