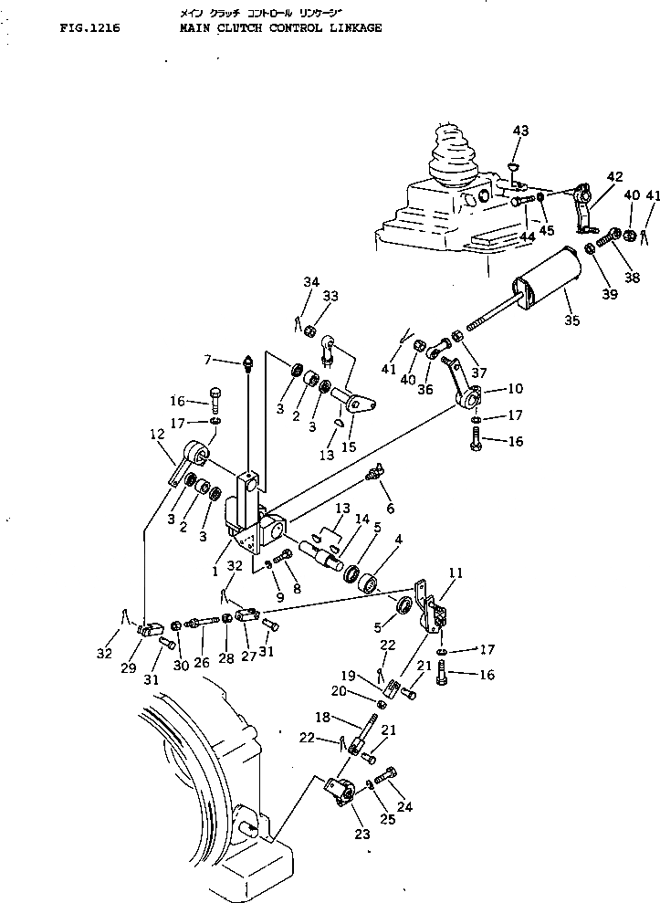
Запчасти Komatsu D40F-3 ОСНОВН. МУФТА МЕХ-М УПРАВЛ-Я ОСНОВН. МУФТА И ТРАНСМИССИЯ

Схема запчастей Komatsu D40F-3 - ОСНОВН. МУФТА МЕХ-М УПРАВЛ-Я ОСНОВН. МУФТА И ТРАНСМИССИЯ
FIT
1:1
100%

Артикул

Название

Примечание

Количество

1

120-43-33411

BRACKET

SN: 6001-UP

1шт.

2

06120-02520

BEARING,NEEDLE

SN: 6001-UP

2шт.

3

06122-02504

SEAL,BEARING

SN: 6001-UP

4шт.

4

06120-03520

BEARING,NEEDLE

SN: 6001-UP

1шт.

5

06122-03504

SEAL,BEARING

SN: 6001-UP

2шт.

6

07020-00900

FITTING,GREASE

SN: 6001-UP

2шт.

7

07020-00000

FITTING,GREASE

SN: 6001-UP

1шт.

8

01010-31030

BOLT

SN: 6001-UP

4шт.

9

01602-01030

WASHER,SPRING

SN: 6001-UP

4шт.

10

120-43-33121

LEVER

SN: 6001-UP

1шт.

11

120-43-33431

LEVER

SN: 6001-UP

1шт.

11

06600-01210

BUSHING

SN: 6001-UP

2шт.

12

120-43-33290

LEVER

SN: 6001-UP

1шт.

13

04010-00732

KEY

SN: 6001-UP

3шт.

14

120-43-33441

SHAFT

SN: 6001-UP

1шт.

15

120-43-33451

LEVER

SN: 6001-UP

1шт.

16

01010-31245

BOLT

SN: 6001-UP

3шт.

17

01602-01236

WASHER,SPRING

SN: 6001-UP

3шт.

18

04244-51216

ROD

SN: 6001-UP

1шт.

19

04211-21266

YOKE

SN: 6001-UP

1шт.

20

01582-11210

NUT

SN: 6001-UP

1шт.

21

04205-11235

PIN

SN: 6001-UP

2шт.

22

04050-13020

PIN,COTTER

SN: 6001-UP

2шт.

23

120-43-33421

LEVER

SN: 6001-UP

1шт.

24

01010-31245

BOLT

SN: 6001-UP

1шт.

25

01602-01236

WASHER,SPRING

SN: 6001-UP

1шт.

26

04248-31211

ROD

SN: 6001-UP

1шт.

27

04221-21266

YOKE,L.H. THREAD

SN: 6001-UP

1шт.

28

01508-21207

NUT,L.H. THREAD

SN: 6001-UP

1шт.

29

04211-21266

YOKE

SN: 6001-UP

1шт.

30

01582-11210

NUT

SN: 6001-UP

1шт.

31

04205-11235

PIN

SN: 6001-UP

2шт.

32

04050-13020

PIN,COTTER

SN: 6001-UP

2шт.

33

01593-11008

NUT

SN: 6001-UP

1шт.

34

04050-12018

PIN,COTTER

SN: 6001-UP

1шт.

35

120-43-33611

ROD

SN: 6001-UP

1шт.

36

04250-61265

END,ROD

SN: 6001-UP

1шт.

37

01508-21207

NUT

SN: 6001-UP

1шт.

38

04252-01269

END,ROD

SN: 6001-UP

1шт.

39

01582-11210

NUT

SN: 6001-UP

1шт.

40

01593-11210

NUT

SN: 6001-UP

2шт.

41

04050-13020

PIN,COTTER

SN: 6001-UP

2шт.

42

120-43-33622

LEVER

SN: 6001-UP

1шт.

43

04010-00519

KEY

SN: 6001-UP

1шт.

44

01010-30830

BOLT

SN: 6001-UP

1шт.

45

01602-00825

WASHER,SPRING

SN: 6001-UP

1шт.

Выбрано товаров: 46