Запчасти Komatsu D40F-3 РАДИАТОР И ТРУБЫ КОМПОНЕНТЫ ДВИГАТЕЛЯ И ЭЛЕКТРИКА

Схема запчастей Komatsu D40F-3 - РАДИАТОР И ТРУБЫ КОМПОНЕНТЫ ДВИГАТЕЛЯ И ЭЛЕКТРИКА
FIT
1:1
100%

Артикул

Название

Примечание

Количество

|$0

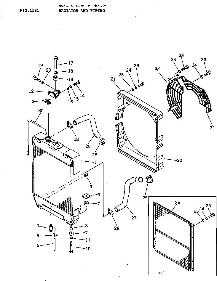
120-03-00011

RADIATOR ASS'Y

SN: 6001-UP

1шт.

1

0

CORE

SN: 6001-UP

1шт.

2

113-03-21240

CAP

SN: 6001-UP

1шт.

3

07042-00415

PLUG

SN: 6001-UP

1шт.

4

07730-20004

VALVE,DRAIN

SN: 6001-UP

1шт.

5

07270-01520

TUBE,DRAIN

SN: 6001-UP

1шт.

6

07280-01920

CLAMP

SN: 6001-UP

1шт.

7

113-03-21160

SEAT

SN: 6001-UP

4шт.

8

113-03-21170

SPACER

SN: 6001-UP

2шт.

9

113-03-21180

PLATE

SN: 6001-UP

2шт.

10

01010-31070

BOLT

SN: 6001-UP

2шт.

11

01602-01030

WASHER,SPRING

SN: 6001-UP

2шт.

12

113-03-21190

BRACKET

SN: 6001-UP

1шт.

13

135-03-12110

DAMPER

SN: 6001-UP

1шт.

14

01010-51235

BOLT

SN: 6001-UP

2шт.

15

01602-21236

WASHER,SPRING

SN: 6001-UP

2шт.

16

01643-31232

WASHER

SN: 6001-UP

2шт.

17

01010-31460

BOLT

SN: 6001-UP

1шт.

18

01602-01442

WASHER,SPRING

SN: 6001-UP

1шт.

19

01010-31035

BOLT

SN: 6001-UP

1шт.

20

01643-31032

WASHER

SN: 6001-UP

1шт.

21

120-03-32122

SHROUD,UPPER

SN: 6001-UP

1шт.

22

120-03-32132

SHROUD,LOWER

SN: 6001-UP

1шт.

23

01010-30816

BOLT

SN: 6001-UP

8шт.

23

01010-30820

BOLT,(FOR CORE GRID)

SN: 6001-UP

8шт.

24

01602-00825

WASHER

SN: 6001-UP

8шт.

25

01643-30823

WASHER

SN: 6001-UP

8шт.

26

120-03-32251

HOSE,INLET

SN: 6001-UP

1шт.

27

120-03-32261

HOSE,OUTLET

SN: 6001-UP

1шт.

28

07281-00709

CLAMP

SN: 6001-UP

3шт.

29

07281-00809

CLAMP

SN: 6001-UP

1шт.

30

113-03-21140

TUBE

SN: 6001-UP

1шт.

31

120-03-32142

GUARD,FAN

SN: 6001-UP

1шт.

31

120-Y79-7210

GUARD,(FOR AIR CONDITIONER TYPE-2)

SN: 6001-UP

1шт.

32

120-03-32152

GUARD,FAN

SN: 6001-UP

1шт.

33

01010-31025

BOLT

SN: 6001-UP

5шт.

34

01602-01030

WASHER,SPRING

SN: 6001-UP

5шт.

35

120-03-32281

CORE GRID,CORE

SN: 6001-UP

1шт.

Выбрано товаров: 0