Запчасти Komatsu D40P-3 ОТВАЛ С ИЗМ. УГЛОМ ПОВОРОТА ОПЦИОННЫЕ КОМПОНЕНТЫ

Схема запчастей Komatsu D40P-3 - ОТВАЛ С ИЗМ. УГЛОМ ПОВОРОТА ОПЦИОННЫЕ КОМПОНЕНТЫ
FIT
1:1
100%

Артикул

Название

Примечание

Количество

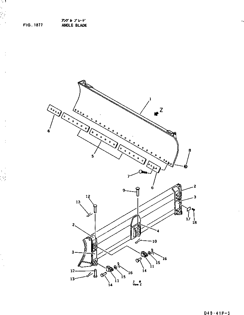
1

12F-Y26-3101

BLADE ASS'Y

SN: 6001-UP

1шт.

2

12F-Z26-1160

BRACKET,L.H.

SN: 6001-UP

1шт.

2

12F-Z26-1170

BRACKET,R.H.

SN: 6001-UP

1шт.

3

124-70-21140

BRACKET,L.H.

SN: 6001-UP

1шт.

3

124-70-21150

BRACKET,R.H.

SN: 6001-UP

1шт.

4

12F-Z26-1120

BRACKET,CUTTING

SN: 6001-UP

1шт.

5

12F-70-31261

EDGE,END

SN: 6001-UP

3шт.

6

112-946-1510

BIT

SN: 6001-UP

2шт.

7

02090-11055

BOLT

SN: 6001-UP

26шт.

8

02290-11016

NUT

SN: 6001-UP

26шт.

9

120-70-21210

PIN

SN: 6001-UP

1шт.

10

04050-18070

PIN,COTTER

SN: 6001-UP

1шт.

11

112-70-11221

JOINT

SN: 6001-UP

4шт.

12

112-70-11190

PIN

SN: 6001-UP

4шт.

13

04050-16050

PIN,COTTER

SN: 6001-UP

4шт.

14

112-70-11210

PIN

SN: 6001-UP

4шт.

15

01640-23550

WASHER

SN: 6001-UP

4шт.

16

04050-16050

PIN,COTTER

SN: 6001-UP

4шт.

17

09601-00835

PLATE, NAME,(LIMITED SUPPLY)

SN: 6001-UP

1шт.

18

04418-13060

SCREW

SN: 6001-UP

4шт.

Выбрано товаров: 20