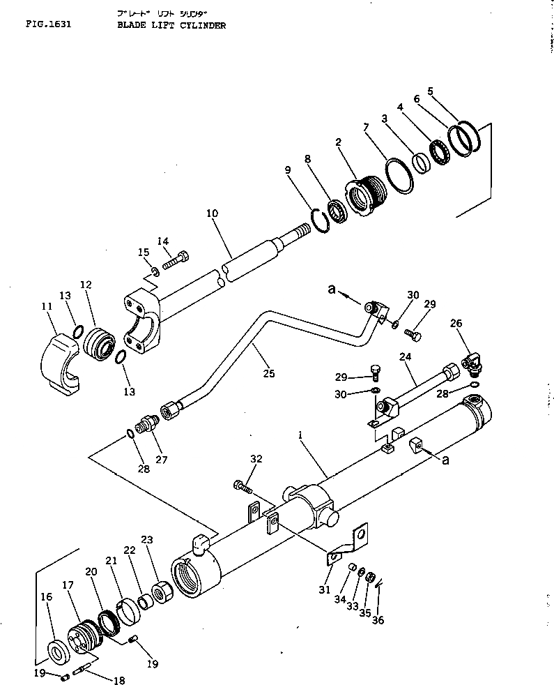
Запчасти Komatsu D40P-3 ЦИЛИНДР ПОДЪЕМА ОТВАЛА УПРАВЛ-Е РАБОЧИМ ОБОРУДОВАНИЕМ

Схема запчастей Komatsu D40P-3 - ЦИЛИНДР ПОДЪЕМА ОТВАЛА УПРАВЛ-Е РАБОЧИМ ОБОРУДОВАНИЕМ
FIT
1:1
100%

Артикул

Название

Примечание

Количество

|$0

12F-63-13701

CYLINDER ASS'Y,L.H.

SN: 6001-UP

1шт.

|$1

12F-63-13801

CYLINDER ASS'Y,R.H.

SN: 6001-UP

1шт.

|$2

12F-63-00010

CYLINDER ASS'Y

SN: 6001-UP

1шт.

1

12F-63-13740

CYLINDER,BLADE LIFT

SN: 6001-UP

1шт.

2

707-29-70390

HEAD,CYLINDER

SN: 6001-UP

1шт.

3

07177-04530

BUSHING

SN: 6001-UP

1шт.

4

707-51-45210

PACKING,ROD

SN: 6001-UP

1шт.

5

07000-12075

O-RING

SN: 6001-UP

1шт.

6

07001-02075

RING,BACK-UP

SN: 6001-UP

1шт.

7

707-45-70010

WASHER

SN: 6001-UP

1шт.

8

112-63-15370

SEAL,DUST

SN: 6001-UP

1шт.

9

07179-00064

RING,SNAP

SN: 6001-UP

1шт.

10

12F-63-13720

ROD,PISTON

SN: 6001-UP

1шт.

11

130-63-12260

CAP

SN: 6001-UP

1шт.

|$14

07137-03505

BUSHING

SN: 6001-UP

1шт.

12

07137-00030

SEAL,DUST

SN: 6001-UP

2шт.

13

07000-03035

O-RING

SN: 6001-UP

2шт.

14

01010-51675

BOLT

SN: 6001-UP

4шт.

15

01602-21648

WASHER,SPRING

SN: 6001-UP

4шт.

16

12F-63-13560

SLIDER

SN: 6001-UP

2шт.

|$20

12F-63-00020

PISTON ASS'Y

SN: 6001-UP

1шт.

17

0

PISTON

SN: 6001-UP

1шт.

18

0

VALVE

SN: 6001-UP

4шт.

19

0

SEAT

SN: 6001-UP

8шт.

20

707-44-70080

RING,PISTON

SN: 6001-UP

1шт.

21

07155-00720

RING,WEAR

SN: 6001-UP

1шт.

22

10G-63-13270

COLLAR

SN: 6001-UP

1шт.

23

07165-12426

NUT

SN: 6001-UP

1шт.

24

12F-63-13770

TUBE

SN: 6001-UP

1шт.

25

12F-63-13760

TUBE,L.H.

SN: 6001-UP

1шт.

25

12F-63-13860

TUBE,R.H.

SN: 6001-UP

1шт.

26

07235-10422

ELBOW

SN: 6001-UP

1шт.

27

07230-10422

UNION

SN: 6001-UP

1шт.

28

07002-12034

O-RING

SN: 6001-UP

2шт.

29

01010-51016

BOLT

SN: 6001-UP

2шт.

30

01643-31032

WASHER

SN: 6001-UP

2шт.

31

12F-63-13672

PLATE

SN: 6001-UP

1шт.

32

01012-51035

BOLT

SN: 6001-UP

1шт.

33

01641-21626

WASHER

SN: 6001-UP

1шт.

34

130-63-12490

COLLAR

SN: 6001-UP

1шт.

35

01590-11012

NUT

SN: 6001-UP

1шт.

36

04050-02018

PIN,COTTER

SN: 6001-UP

1шт.

Выбрано товаров: 42