Запчасти Komatsu D40P-3 ДОПОЛН. ТОПЛИВН. ФИЛЬТР ОПЦИОННЫЕ КОМПОНЕНТЫ

Схема запчастей Komatsu D40P-3 - ДОПОЛН. ТОПЛИВН. ФИЛЬТР ОПЦИОННЫЕ КОМПОНЕНТЫ
FIT
1:1
100%

Артикул

Название

Примечание

Количество

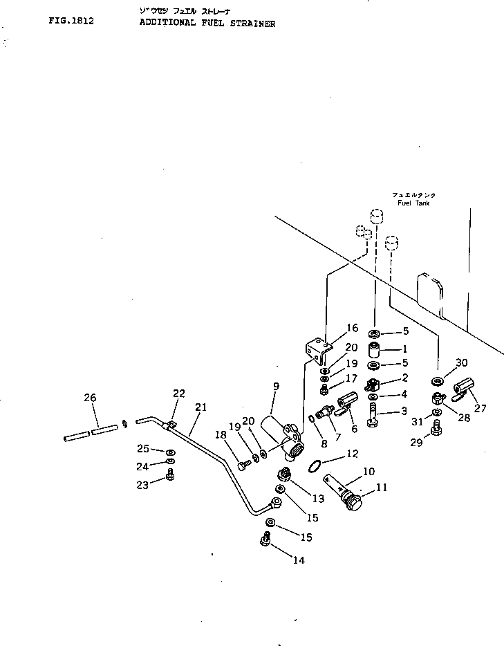
1

125-04-23230

BOSS

SN: 6001-UP

1шт.

2

113-04-22130

NIPPLE

SN: 6001-UP

1шт.

3

125-04-23240

BOLT

SN: 6001-UP

1шт.

4

07005-01412

GASKET

SN: 6001-UP

1шт.

5

07005-02012

SEAL

SN: 6001-UP

2шт.

6

07700-40240

VALVE

SN: 6001-UP

1шт.

7

125-04-23250

NIPPLE

SN: 6001-UP

1шт.

8

07000-02015

O-RING

SN: 6001-UP

1шт.

9

141-04-33120

CASE

SN: 6001-UP

1шт.

10

154-04-12531

STRAINER

SN: 6001-UP

1шт.

11

154-04-12521

CAP

SN: 6001-UP

1шт.

12

07002-04234

O-RING

SN: 6001-UP

1шт.

13

125-04-23260

NIPPLE

SN: 6001-UP

1шт.

14

113-04-22190

BOLT

SN: 6001-UP

1шт.

15

07005-01412

GASKET

SN: 6001-UP

2шт.

16

125-04-23220

BRACKET

SN: 6001-UP

1шт.

17

01010-31020

BOLT

SN: 6001-UP

2шт.

18

01010-31030

BOLT

SN: 6001-UP

2шт.

19

01602-01030

WASHER,SPRING

SN: 6001-UP

4шт.

20

01643-31032

WASHER

SN: 6001-UP

4шт.

21

120-04-32111

TUBE

SN: 6001-UP

1шт.

22

130-04-11260

CLIP

SN: 6001-UP

1шт.

23

01010-31025

BOLT

SN: 6001-UP

1шт.

24

01602-01030

WASHER,SPRING

SN: 6001-UP

1шт.

25

01643-31032

WASHER

SN: 6001-UP

1шт.

26

120-04-32121

HOSE

SN: 6001-UP

1шт.

27

07700-40240

VALVE

SN: 6001-UP

1шт.

28

113-04-22130

NIPPLE

SN: 6001-UP

1шт.

29

113-04-22190

BOLT

SN: 6001-UP

1шт.

30

07005-02012

SEAL

SN: 6001-UP

1шт.

31

07005-01412

GASKET

SN: 6001-UP

1шт.

Выбрано товаров: 0