Запчасти Komatsu D40P-3 КОНДИЦ. ВОЗДУХА (/) ОПЦИОННЫЕ КОМПОНЕНТЫ

Схема запчастей Komatsu D40P-3 - КОНДИЦ. ВОЗДУХА (/) ОПЦИОННЫЕ КОМПОНЕНТЫ
FIT
1:1
100%

Артикул

Название

Примечание

Количество

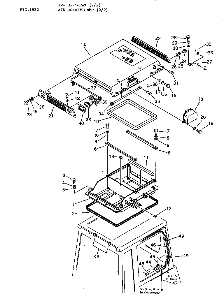
1

120-Y79-6110

FRAME

SN: 6001-UP

1шт.

2

120-Y79-6120

SEAL,L=400

SN: 6001-UP

1шт.

3

01010-31060

BOLT

SN: 6001-UP

18шт.

4

01602-01030

WASHER,SPRING

SN: 6001-UP

18шт.

5

120-Y79-4470

WASHER,SEAL

SN: 6001-UP

18шт.

6

120-Y79-6130

PLATE

SN: 6001-UP

2шт.

7

01010-31025

BOLT

SN: 6001-UP

4шт.

8

01602-01030

WASHER,SPRING

SN: 6001-UP

4шт.

9

01643-31032

WASHER

SN: 6001-UP

4шт.

10

120-Y79-6150

SEAL

SN: 6001-UP

1шт.

11

120-Y79-6160

SEAL

SN: 6001-UP

1шт.

12

09415-02512

CAP

SN: 6001-UP

1шт.

13

08037-01610

GROMMET

SN: 6001-UP

1шт.

14

120-Y79-6310

COVER

SN: 6001-UP

1шт.

15

01252-31025

BOLT

SN: 6001-UP

10шт.

16

01602-01030

WASHER,SPRING

SN: 6001-UP

10шт.

17

01643-31032

WASHER

SN: 6001-UP

10шт.

18

120-Y79-6320

COVER

SN: 6001-UP

1шт.

19

01010-31025

BOLT

SN: 6001-UP

2шт.

20

01602-01030

WASHER,SPRING

SN: 6001-UP

2шт.

21

120-Y79-6330

COVER,FRONT

SN: 6001-UP

1шт.

22

120-Y79-6340

COVER,REAR

SN: 6001-UP

1шт.

23

01252-40816

BOLT

SN: 6001-UP

6шт.

24

01252-40820

BOLT

SN: 6001-UP

6шт.

25

01602-00825

WASHER,SPRING

SN: 6001-UP

12шт.

26

01643-30823

WASHER

SN: 6001-UP

12шт.

27

120-Y79-6350

BRACKET,L.H.

SN: 6001-UP

1шт.

|27

120-Y79-6360

BRACKET,R.H.

SN: 6001-UP

1шт.

28

01010-31020

BOLT

SN: 6001-UP

4шт.

29

01602-01030

WASHER,SPRING

SN: 6001-UP

4шт.

30

01643-31032

WASHER

SN: 6001-UP

4шт.

31

04205-11230

PIN

SN: 6001-UP

2шт.

32

04050-03020

PIN,COTTER

SN: 6001-UP

2шт.

33

01641-21223

WASHER

SN: 6001-UP

2шт.

34

120-Y79-6430

STAY

SN: 6001-UP

1шт.

35

04205-11245

PIN

SN: 6001-UP

1шт.

36

04050-03020

PIN,COTTER

SN: 6001-UP

1шт.

37

120-Y79-6940

WIRE ASS'Y

SN: 6001-UP

1шт.

38

120-Y79-5150

LAMP ASS'Y

SN: 6001-UP

2шт.

|38

120-Y79-5160

BULB¤ 40W/45W

SN: 6001-UP

2шт.

39

120-Y79-5170

CUSHION

SN: 6001-UP

2шт.

40

120-Y79-5180

BRACKET

SN: 6001-UP

2шт.

41

01220-40612

SCREW

SN: 6001-UP

4шт.

42

01602-00619

WASHER,SPRING

SN: 6001-UP

4шт.

43

09415-03614

CAP

SN: 6001-UP

2шт.

44

120-Y79-6920

WIRE ASS'Y

SN: 6001-UP

1шт.

45

120-Y79-5840

WIRE ASS'Y

SN: 6001-UP

1шт.

46

120-Y79-6930

WIRE ASS'Y

SN: 6001-UP

1шт.

47

120-Y79-6910

WIRE ASS'Y

SN: 6001-UP

1шт.

48

08040-01000

FUSE¤ 10A

SN: 6001-UP

1шт.

49

08034-00519

BAND

SN: 6001-UP

10шт.

Выбрано товаров: 51