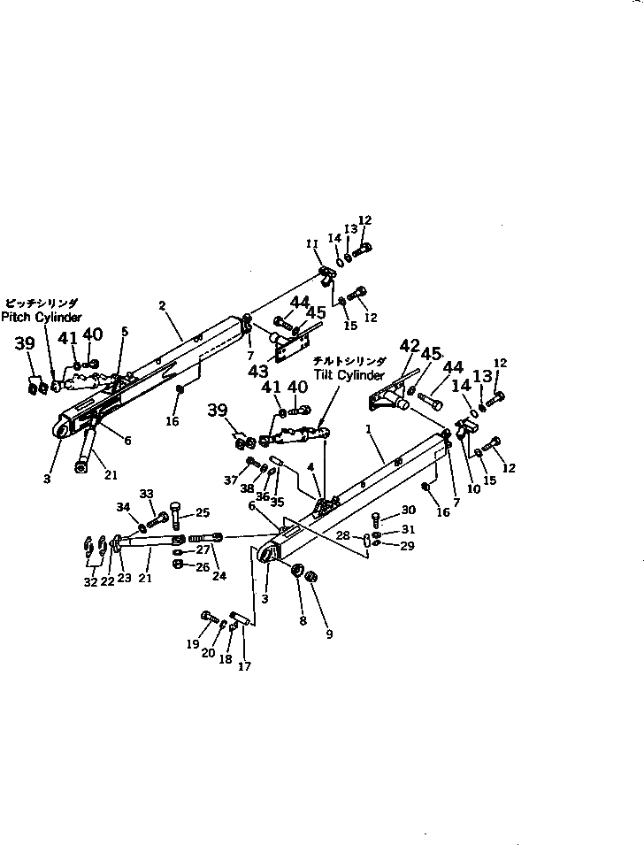
Запчасти Komatsu D40P-5 РАМА ПРЯМ. ОТВАЛА РАБОЧЕЕ ОБОРУДОВАНИЕ

Схема запчастей Komatsu D40P-5 - РАМА ПРЯМ. ОТВАЛА РАБОЧЕЕ ОБОРУДОВАНИЕ
FIT
1:1
100%

Артикул

Название

Примечание

Количество

|1

12F-70-00410

FRAME ASS'Y,L.H.

SN: 10001-UP

1шт.

|1

12F-70-00420

FRAME ASS'Y,R.H.

SN: 10001-UP

1шт.

1

0

FRAME,L.H.

SN: 10001-UP

1шт.

2

0

FRAME,R.H.

SN: 10001-UP

1шт.

3

12F-70-42230

JOINT (WELDED)

SN: 10001-UP

1шт.

4

12F-70-32181

BRACKET,L.H. (WELDED)

SN: 10001-UP

1шт.

5

12F-70-32191

BRACKET,R.H. (WELDED)

SN: 10001-UP

1шт.

6

12F-70-32171

BRACKET (WELDED)

SN: 10001-UP

1шт.

7

0

PIVOT,(WELDED) (KIT)

SN: 10001-UP

1шт.

8

12F-70-21270

BEARING

SN: 10001-UP

1шт.

9

12F-70-21260

BEARING

SN: 10001-UP

1шт.

10

12F-70-42250

CAP,L.H.

SN: 10001-UP

1шт.

11

12F-70-32141

CAP,R.H. (KIT)

SN: 10001-UP

1шт.

12

01011-82445

BOLT (KIT)

SN: 10001-UP

2шт.

13

130-961-2580

WASHER (KIT)

SN: 10001-UP

1шт.

14

07000-03040

O-RING

SN: 10001-UP

1шт.

15

01643-32460

WASHER (KIT)

SN: 10001-UP

1шт.

16

130-70-13241

NUT (KIT)

SN: 10001-UP

2шт.

17

12F-70-31321

PIN

SN: 10001-UP

2шт.

18

12F-70-31331

PLATE,LOCK

SN: 10001-UP

2шт.

19

01010-51225

BOLT

SN: 10001-UP

4шт.

20

01602-21236

WASHER,SPRING

SN: 10001-UP

4шт.

21

12F-70-21210

BRACE,CENTER

SN: 10001-UP

2шт.

22

144-817-2171

JOINT (WELDED)

SN: 10001-UP

1шт.

23

144-817-2361

RETAINER

SN: 10001-UP

1шт.

24

12F-70-11260

SCREW

SN: 10001-UP

2шт.

25

01011-52000

BOLT

SN: 10001-UP

2шт.

26

01580-12016

NUT

SN: 10001-UP

2шт.

27

01643-32060

WASHER

SN: 10001-UP

2шт.

28

12F-70-11350

PIN

SN: 10001-UP

2шт.

29

04082-00212

LOCK

SN: 10001-UP

2шт.

30

01010-51225

BOLT

SN: 10001-UP

4шт.

31

01643-31232

WASHER

SN: 10001-UP

4шт.

32

144-817-0620

SHIM ASS'Y

SN: 10001-UP

2шт.

|32

0

SHIM¤ 0.5MM

SN: 10001-UP

6шт.

|32

0

SHIM¤ 1.0MM

SN: 10001-UP

8шт.

33

01010-51865

BOLT

SN: 10001-UP

8шт.

34

01643-31845

WASHER

SN: 10001-UP

8шт.

35

12F-70-11350

PIN

SN: 10001-UP

2шт.

36

04082-00212

LOCK

SN: 10001-UP

2шт.

37

01010-51225

BOLT

SN: 10001-UP

4шт.

38

01602-21236

WASHER,SPRING

SN: 10001-UP

4шт.

39

112-71-00071

SHIM KIT

SN: 10001-UP

2шт.

|39

0

SHIM¤ 0.5MM

SN: 10001-UP

4шт.

|39

0

SHIM¤ 1.0MM

SN: 10001-UP

4шт.

40

01010-51650

BOLT

SN: 10001-UP

8шт.

41

01643-31645

WASHER

SN: 10001-UP

8шт.

42

12F-70-42310

TRUNNION,L.H.

SN: 10001-UP

1шт.

43

12F-70-32222

TRUNNION,R.H.

SN: 10001-UP

1шт.

44

01010-52055

BOLT

SN: 10001-UP

16шт.

45

01643-32060

WASHER

SN: 10001-UP

16шт.

|$$52

SERVICE KIT

-1шт.

|7

12F-70-00240

PIVOT ASS'Y,L.H.

SN: 10001-UP

1шт.

|7

12F-70-00250

PIVOT ASS'Y,R.H.

SN: 10001-UP

1шт.

7

0

PIVOT

SN: 10001-UP

1шт.

10

12F-70-42250

CAP,L.H.

SN: 10001-UP

1шт.

11

12F-70-32141

CAP,R.H.

SN: 10001-UP

1шт.

12

01011-82445

BOLT

SN: 10001-UP

2шт.

13

130-961-2580

WASHER

SN: 10001-UP

1шт.

15

01643-32460

WASHER

SN: 10001-UP

1шт.

16

130-70-13241

NUT

SN: 10001-UP

2шт.

Выбрано товаров: 61