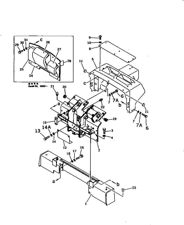
Запчасти Komatsu D40P-5 ПРИБОРНАЯ ПАНЕЛЬ И РАМА СИСТЕМА УПРАВЛЕНИЯ

Схема запчастей Komatsu D40P-5 - ПРИБОРНАЯ ПАНЕЛЬ И РАМА СИСТЕМА УПРАВЛЕНИЯ
FIT
1:1
100%

Артикул

Название

Примечание

Количество

1

144-43-81321

BRACKET

SN: 10510-UP

1шт.

|1

144-43-81320

BRACKET

SN: 10001-10509

1шт.

2

120-43-34634

FRAME

SN: 10991-UP

1шт.

|2

0

FRAME

SN: 10001-10990

1шт.

3

01010-51235

BOLT

SN: 10001-UP

2шт.

4

01602-21236

WASHER,SPRING

SN: 10001-UP

2шт.

5

120-54-41152

DASHBOARD

SN: 10991-UP

1шт.

|5

0

DASHBOARD

SN: 10510-10990

1шт.

|5

120-54-41150

DASHBOARD

SN: 10001-10509

1шт.

6

01010-51235

BOLT

SN: 10001-UP

10шт.

7

01643-31232

WASHER

SN: 10001-UP

10шт.

7A

01602-21236

WASHER,SPRING

SN: 10001-UP

10шт.

8

144-54-81131

COVER

SN: 10510-UP

1шт.

|8

144-54-81130

COVER

SN: 10001-10509

1шт.

9

23S-06-14990

SCREW

SN: 10001-UP

6шт.

10

362-06-21140

WASHER

SN: 10001-UP

6шт.

11

09415-01008

CAP

SN: 10001-UP

2шт.

12

120-43-34652

COVER

SN: 10001-UP

1шт.

13

01010-51225

BOLT

SN: 10001-UP

2шт.

14

01643-31232

WASHER

SN: 10001-UP

2шт.

14A

01602-21236

WASHER,SPRING

SN: 10001-UP

2шт.

15

01573-22310

SEAT

SN: 10001-UP

2шт.

16

01010-51270

BOLT

SN: 10001-UP

4шт.

17

01602-21236

WASHER,SPRING

SN: 10001-UP

4шт.

18

01643-31232

WASHER

SN: 10001-UP

4шт.

19

07049-04253

PLUG

SN: 10001-UP

1шт.

20

09415-03614

CAP

SN: 10001-UP

1шт.

21

07020-00000

FITTING,GREASE

SN: 10001-UP

1шт.

22

07020-00001

FITTING,GREASE

SN: 10001-UP

1шт.

23

07049-01620

PLUG

SN: 10510-UP

6шт.

|24

120-54-41211

COVER

SN: 10991-UP

1шт.

|24

0

COVER

SN: 10510-10990

1шт.

24

0

COVER

SN: 10510-UP

1шт.

25

120-54-41220

ABSORBER

SN: 10510-UP

1шт.

26

120-54-41230

ABSORBER

SN: 10510-UP

1шт.

27

120-54-41240

ABSORBER

SN: 10510-UP

1шт.

28

144-A62-3730

SEAL,(L=1000MM)

SN: 10991-UP

3шт.

|28

0

SEAL

SN: 10510-10990

2шт.

29

01010-51225

BOLT

SN: 10510-UP

7шт.

30

01602-21236

WASHER,SPRING

SN: 10510-UP

7шт.

31

01643-31232

WASHER

SN: 10510-UP

7шт.

Выбрано товаров: 41