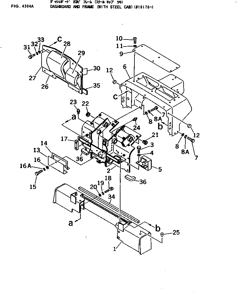
Запчасти Komatsu D40P-5 ПРИБОРНАЯ ПАНЕЛЬ И РАМА (С СТАЛЬНАЯ КАБИНА)(№99-) СИСТЕМА УПРАВЛЕНИЯ

Схема запчастей Komatsu D40P-5 - ПРИБОРНАЯ ПАНЕЛЬ И РАМА (С СТАЛЬНАЯ КАБИНА)(№99-) СИСТЕМА УПРАВЛЕНИЯ
FIT
1:1
100%

Артикул

Название

Примечание

Количество

1

144-43-81321

BRACKET

SN: 10510-UP

1шт.

2

120-43-34634

FRAME

SN: 10991-UP

1шт.

3

01010-51245

BOLT

SN: 10991-UP

2шт.

4

01602-21236

WASHER,SPRING

SN: 10510-UP

2шт.

5

144-54-82520

BRACKET,L.H.

SN: 10991-UP

1шт.

|5

144-54-82530

BRACKET,R.H.

SN: 10991-UP

1шт.

6

120-54-41380

DASHBOARD

SN: 11173-UP

1шт.

|6

120-54-41152

DASHBOARD

SN: 10991-11172

1шт.

7

01010-51235

BOLT

SN: 10510-UP

10шт.

8

01643-31232

WASHER

SN: 10510-UP

10шт.

8A

01602-21236

WASHER,SPRING

SN: 10510-UP

10шт.

9

144-54-81131

COVER

SN: 10510-UP

1шт.

10

23S-06-14990

SCREW

SN: 10510-UP

6шт.

11

362-06-21140

WASHER

SN: 10510-UP

6шт.

12

09415-01008

CAP

SN: 10510-UP

2шт.

13

144-43-81150

COVER

SN: 10991-UP

1шт.

14

144-A62-8410

SEAL,(L=1000MM)

SN: 10991-UP

1шт.

15

01010-51225

BOLT

SN: 10510-UP

1шт.

16

01643-31232

WASHER

SN: 10510-UP

1шт.

16A

01602-21236

WASHER,SPRING

SN: 10510-UP

1шт.

17

01573-22310

SEAT

SN: 10510-UP

2шт.

18

01010-51270

BOLT

SN: 10510-UP

4шт.

19

01602-21236

WASHER,SPRING

SN: 10510-UP

4шт.

20

01643-31232

WASHER

SN: 10510-UP

4шт.

21

07049-04253

PLUG

SN: 10510-UP

1шт.

22

09415-03614

CAP

SN: 10510-UP

1шт.

23

07020-00000

FITTING,GREASE

SN: 10510-UP

1шт.

24

07020-00001

FITTING,GREASE

SN: 10510-UP

1шт.

25

07049-01620

PLUG

SN: 10510-UP

6шт.

|26

120-54-41211

COVER

SN: 10991-UP

1шт.

26

0

COVER

SN: 10510-UP

1шт.

27

120-54-41220

ABSORBER

SN: 10510-UP

1шт.

28

120-54-41230

ABSORBER

SN: 10510-UP

1шт.

29

120-54-41240

ABSORBER

SN: 10510-UP

1шт.

30

144-A62-3730

SEAL,(L=1000MM)

SN: 10991-UP

1шт.

31

01010-51225

BOLT

SN: 10510-UP

7шт.

32

01602-21236

WASHER,SPRING

SN: 10510-UP

7шт.

33

01643-31232

WASHER

SN: 10510-UP

7шт.

34

144-54-82350

SEAT

SN: 10510-UP

1шт.

35

144-Y11-3870

SEAL,(L=1000MM)

SN: 10991-UP

1шт.

36

144-Y11-3851

SHEET

SN: 10991-UP

1шт.

Выбрано товаров: 0