Запчасти Komatsu D40P-5A ЭЛЕКТРИКА (/) (ВЫСОК. ЕМК.)(DP) КОМПОНЕНТЫ ДВИГАТЕЛЯ И ЭЛЕКТРИКА

Схема запчастей Komatsu D40P-5A - ЭЛЕКТРИКА (/) (ВЫСОК. ЕМК.)(DP) КОМПОНЕНТЫ ДВИГАТЕЛЯ И ЭЛЕКТРИКА
FIT
1:1
100%

Артикул

Название

Примечание

Количество

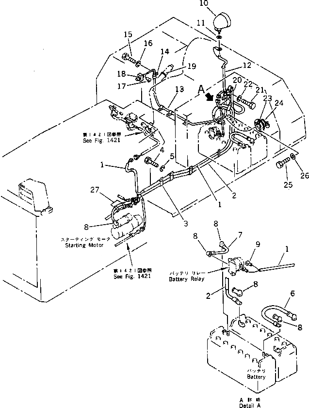
1

120-06-43120

WIRE,(SEE FIG.1421)

SN: 10001-UP

1шт.

2

120-06-43250

WIRE

SN: 10001-UP

1шт.

3

198-61-14180

CLIP

SN: 10001-UP

5шт.

4

01010-51016

BOLT

SN: 10001-UP

4шт.

5

01602-21030

WASHER,SPRING

SN: 10001-UP

4шт.

6

08028-44011

CABLE

SN: 10001-UP

1шт.

7

08028-44065

CABLE

SN: 10001-UP

1шт.

8

08038-06031

CAP

SN: 10001-UP

6шт.

9

08038-00519

CAP

SN: 10001-UP

2шт.

10

08128-22400

LAMP ASS'Y

SN: 10001-UP

1шт.

|10

08113-02480

BULB¤ 80W

SN: 10001-UP

1шт.

|10

08128-00003

HOLDER

SN: 10001-UP

1шт.

11

01640-21426

WASHER

SN: 10001-UP

1шт.

12

120-06-43230

WIRE

SN: 10001-UP

1шт.

13

120-06-43240

WIRE

SN: 10001-UP

1шт.

14

08035-01510

CLIP

SN: 10001-UP

5шт.

15

01010-51016

BOLT

SN: 10001-UP

5шт.

16

01602-21030

WASHER,SPRING

SN: 10001-UP

5шт.

17

08038-00519

CAP

SN: 10001-UP

2шт.

18

08064-10000

SWITCH,HORN

SN: 10001-UP

1шт.

19

08034-00519

BAND

SN: 10001-UP

2шт.

20

08035-01510

CLIP

SN: 10001-UP

2шт.

21

01010-51016

BOLT

SN: 10001-UP

2шт.

22

01602-21030

WASHER,SPRING

SN: 10001-UP

2шт.

23

144-06-81210

SENSOR,FUEL LEVEL

SN: 10001-UP

1шт.

24

07000-03050

O-RING

SN: 10001-UP

1шт.

25

01010-51020

BOLT

SN: 10001-UP

4шт.

26

01643-31032

WASHER

SN: 10001-UP

4шт.

27

08034-00519

BAND

SN: 10001-UP

2шт.

Выбрано товаров: 29