Запчасти Komatsu D40P-5A ANGLE НАКЛОН. РАМА РАБОЧЕЕ ОБОРУДОВАНИЕ

Схема запчастей Komatsu D40P-5A - ANGLE НАКЛОН. РАМА РАБОЧЕЕ ОБОРУДОВАНИЕ
FIT
1:1
100%

Артикул

Название

Примечание

Количество

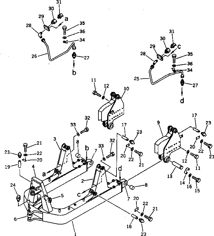
1

12F-72-41310

FRAME ASS'Y

SN: 10001-UP

1шт.

2

12F-72-41340

BRACKET,L.H. (WELDED)

SN: 10001-UP

1шт.

3

12F-72-41350

BRACKET,R.H. (WELDED)

SN: 10001-UP

1шт.

4

12F-72-41360

BRACKET (WELDED)

SN: 10001-UP

1шт.

5

12F-72-41370

BRACKET (WELDED)

SN: 10001-UP

1шт.

6

12F-72-41380

BRACKET (WELDED)

SN: 10001-UP

1шт.

7

12F-72-41330

BRACKET (WELDED)

SN: 10001-UP

2шт.

8

12F-72-41610

BUSHING

SN: 10001-UP

2шт.

9

12F-72-41420

BRACKET,L.H.

SN: 10001-UP

1шт.

10

12F-72-41430

BRACKET,R.H.

SN: 10001-UP

1шт.

11

01011-52050

BOLT

SN: 10001-UP

16шт.

12

01643-32060

WASHER

SN: 10001-UP

16шт.

13

12F-72-41470

SHAFT

SN: 10001-UP

2шт.

14

12F-72-41480

PLATE

SN: 10001-UP

2шт.

15

01010-51230

BOLT

SN: 10001-UP

4шт.

16

01643-31232

WASHER

SN: 10001-UP

4шт.

17

09241-5A160

PIN

SN: 10001-UP

4шт.

18

113-70-22200

PIN

SN: 10001-UP

2шт.

19

103-70-21171

PIN

SN: 10001-UP

1шт.

20

04082-00212

LOCK

SN: 10001-UP

7шт.

21

01010-51225

BOLT

SN: 10001-UP

14шт.

22

01643-31232

WASHER

SN: 10001-UP

14шт.

23

07020-00000

FITTING,GREASE

SN: 10001-UP

7шт.

24

07020-00675

FITTING,GREASE

SN: 10001-UP

1шт.

25

12F-72-41510

TUBE,L.H.

SN: 10001-UP

1шт.

26

12F-72-41520

TUBE,R.H.

SN: 10001-UP

1шт.

27

07214-50510

CONNECTOR

SN: 10001-UP

2шт.

28

07217-50510

ELBOW

SN: 10001-UP

2шт.

29

12F-Y46-5420

PLATE

SN: 10001-UP

2шт.

30

22X-47-18220

NIPPLE

SN: 10001-UP

2шт.

31

07020-00675

FITTING,GREASE

SN: 10001-UP

2шт.

32

01010-51030

BOLT

SN: 10001-UP

4шт.

33

01643-31032

WASHER

SN: 10001-UP

4шт.

34

08036-10614

CLIP

SN: 10001-UP

2шт.

35

01010-50816

BOLT

SN: 10001-UP

2шт.

36

01643-30823

WASHER

SN: 10001-UP

2шт.

Выбрано товаров: 36