Запчасти Komatsu D40P-5A ОСНОВН. МУФТА КОРПУС¤ ВИЛКА И НАПОЛНИТЕЛЬ ОСНОВН. МУФТА¤ ДЕМПФЕР¤ ТРАНСМИССИЯ¤ РУЛЕВ. УПРАВЛЕНИЕ И КОНЕЧНАЯ ПЕРЕДАЧА

Схема запчастей Komatsu D40P-5A - ОСНОВН. МУФТА КОРПУС¤ ВИЛКА И НАПОЛНИТЕЛЬ ОСНОВН. МУФТА¤ ДЕМПФЕР¤ ТРАНСМИССИЯ¤ РУЛЕВ. УПРАВЛЕНИЕ И КОНЕЧНАЯ ПЕРЕДАЧА
FIT
1:1
100%

Артикул

Название

Примечание

Количество

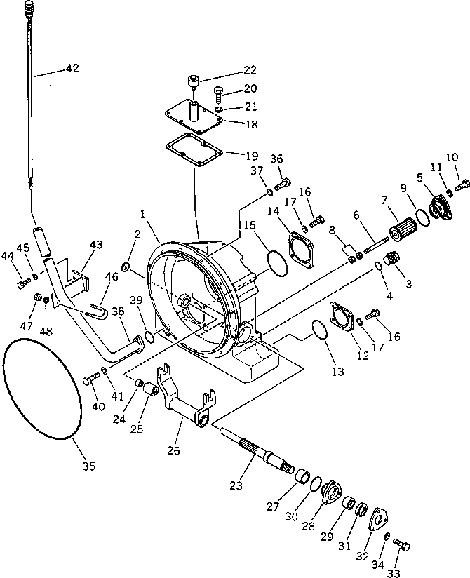
1

120-10-31112

CASE

SN: 10001-UP

1шт.

2

07046-13520

PLUG

SN: 10001-UP

1шт.

3

07044-13620

PLUG

SN: 10001-UP

1шт.

4

07002-03634

O-RING

SN: 10001-UP

1шт.

5

120-10-31230

COVER

SN: 10001-UP

1шт.

6

121-10-13320

STUD

SN: 10001-UP

1шт.

7

120-10-31310

STRAINER

SN: 10001-UP

1шт.

8

01580-01008

NUT

SN: 10001-UP

2шт.

9

07000-02070

O-RING

SN: 10001-UP

1шт.

10

01010-51030

BOLT

SN: 10001-UP

3шт.

11

01602-21030

WASHER,SPRING

SN: 10001-UP

3шт.

12

120-10-31210

COVER

SN: 10001-UP

1шт.

13

07000-02080

O-RING

SN: 10001-UP

1шт.

14

120-10-41610

COVER

SN: 10001-UP

1шт.

15

07000-02110

O-RING

SN: 10001-UP

1шт.

16

01010-51025

BOLT

SN: 10001-UP

8шт.

17

01602-21030

WASHER,SPRING

SN: 10001-UP

8шт.

18

121-10-11120

COVER

SN: 10001-UP

1шт.

19

121-10-11131

GASKET

SN: 11114-UP

1шт.

|19

0

GASKET

SN: (10001-11113)

1шт.

20

01010-51025

BOLT

SN: 10001-UP

6шт.

21

01602-21030

WASHER,SPRING

SN: 10001-UP

6шт.

22

07030-00252

BREATHER

SN: 10001-UP

1шт.

23

120-10-31522

SHAFT

SN: 10001-UP

1шт.

24

06120-02216

BEARING,NEEDLE

SN: 10001-UP

1шт.

25

120-10-31530

SPACER

SN: 10001-UP

1шт.

26

120-10-31512

YOKE

SN: 10001-UP

1шт.

27

120-10-31541

COLLAR

SN: 10001-UP

1шт.

28

120-10-31591

CAGE

SN: 10001-UP

1шт.

29

06120-03520

BEARING,NEEDLE

SN: 10001-UP

1шт.

30

07000-02060

O-RING

SN: 10001-UP

1шт.

31

07012-10035

SEAL,OIL

SN: 10001-UP

1шт.

32

120-10-31610

PLATE

SN: 10001-UP

1шт.

33

01010-51030

BOLT

SN: 10001-UP

3шт.

34

01602-21030

WASHER,SPRING

SN: 10001-UP

3шт.

35

120-10-31120

O-RING

SN: 10001-UP

1шт.

36

01010-51030

BOLT

SN: 10001-UP

12шт.

37

01602-21030

WASHER,SPRING

SN: 10001-UP

12шт.

38

120-10-33210

FILLER

SN: 10001-UP

1шт.

39

07000-03035

O-RING

SN: 10001-UP

1шт.

40

01010-51030

BOLT

SN: 10001-UP

2шт.

41

01602-21030

WASHER,SPRING

SN: 10001-UP

2шт.

42

120-10-33150

GAUGE,OIL LEVEL

SN: 10001-UP

1шт.

43

120-10-33160

BRACKET

SN: 10001-UP

1шт.

44

01010-50825

BOLT

SN: 10001-UP

2шт.

45

01643-30823

WASHER

SN: 10001-UP

2шт.

46

07283-23442

CLIP

SN: 10001-UP

1шт.

47

01599-01011

NUT

SN: 10001-UP

2шт.

48

01643-31032

WASHER

SN: 10001-UP

2шт.

Выбрано товаров: 49