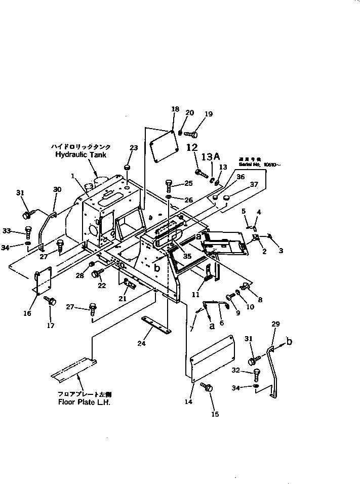
Запчасти Komatsu D40P-5A ЗАДН. РАМА КОРПУС ЧАСТИ КОРПУСА

Схема запчастей Komatsu D40P-5A - ЗАДН. РАМА КОРПУС ЧАСТИ КОРПУСА
FIT
1:1
100%

Артикул

Название

Примечание

Количество

1

144-54-83313

BOX

SN: 10975-UP

1шт.

|1

0

BOX

SN: 10510-10974

1шт.

|1

120-54-42110

BOX

SN: 10001-10509

1шт.

2

09461-00021

LEVER

SN: 10001-UP

1шт.

3

09461-00023

SPRING

SN: 10001-UP

1шт.

4

09461-00022

PIN

SN: 10001-UP

1шт.

5

04050-13018

PIN,COTTER

SN: 10001-UP

2шт.

6

120-54-32431

ROD

SN: 10001-UP

1шт.

7

04050-13022

PIN,COTTER

SN: 10001-UP

1шт.

8

20R-54-11460

SPRING

SN: 10001-UP

1шт.

9

01220-40512

SCREW

SN: 10001-UP

2шт.

10

01601-20513

WASHER,SPRING

SN: 10001-UP

2шт.

11

124-54-21710

SPRING

SN: 10001-UP

1шт.

12

01010-50816

BOLT

SN: 10001-UP

2шт.

13

01640-20816

WASHER

SN: 10001-UP

2шт.

13A

01602-20825

WASHER,SPRING

SN: 10001-UP

2шт.

14

144-54-82111

COVER

SN: 10510-UP

1шт.

|14

144-54-82110

COVER

SN: 10001-10509

1шт.

15

01439-01220

BOLT

SN: 10001-UP

4шт.

16

144-54-83631

COVER

SN: 10975-UP

1шт.

|16

0

COVER

SN: 10510-10974

1шт.

|16

144-54-83530

SEAL

SN: 10510-UP

1шт.

|16

120-54-32151

COVER

SN: 10001-10509

1шт.

17

01439-01220

BOLT

SN: 10001-UP

4шт.

18

144-54-83620

COVER

SN: 10510-UP

1шт.

|18

144-54-83530

SEAL

SN: 10510-UP

1шт.

|18

120-54-32161

COVER

SN: 10001-10509

1шт.

19

01010-51225

BOLT

SN: 10001-UP

4шт.

20

01643-31232

WASHER

SN: 10001-UP

4шт.

21

12G-B62-3340

PLATE

SN: 10510-UP

1шт.

|21

12G-B62-3350

SEAL

SN: 10510-UP

1шт.

|21

120-54-32341

PLATE

SN: 10001-10509

1шт.

22

01439-01225

BOLT

SN: 10510-UP

3шт.

|22

01439-01220

BOLT

SN: 10001-10509

3шт.

23

09415-05016

CAP

SN: 10975-UP

1шт.

|23

09415-03614

CAP

SN: 10001-10974

1шт.

24

120-54-32331

SPACER

SN: 10001-UP

1шт.

25

01010-51270

BOLT

SN: 10001-UP

4шт.

26

01643-31232

WASHER

SN: 10001-UP

4шт.

27

01439-01220

BOLT

SN: 10001-UP

2шт.

28

09415-01008

CAP

SN: 10001-UP

13шт.

29

120-54-32252

HANDLE,L.H.

SN: 10001-UP

1шт.

30

120-54-32262

HANDLE,R.H.

SN: 10001-UP

1шт.

31

01439-01230

BOLT

SN: 10001-UP

2шт.

32

01010-51230

BOLT

SN: 10001-UP

1шт.

33

01010-51235

BOLT

SN: 10001-UP

1шт.

34

01643-31232

WASHER

SN: 10001-UP

2шт.

35

09989-03046

BOX

SN: 10001-10509

1шт.

36

09415-01008

CAP

SN: 10510-UP

1шт.

37

09415-03614

CAP

SN: 10544-UP

1шт.

|37

09415-02512

CAP

SN: 10510-10543

1шт.

Выбрано товаров: 51