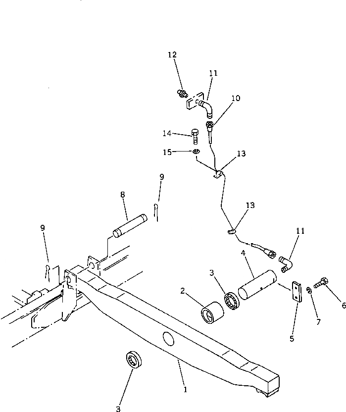
Запчасти Komatsu D40P-5A БАЛКА БАЛАНСИРА ЧАСТИ КОРПУСА

Схема запчастей Komatsu D40P-5A - БАЛКА БАЛАНСИРА ЧАСТИ КОРПУСА
FIT
1:1
100%

Артикул

Название

Примечание

Количество

|1

12F-50-00210

EQUALIZER BAR ASS'Y

SN: 10001-UP

1шт.

1

0

BAR

SN: 10001-UP

1шт.

2

120-50-31131

BUSHING

SN: 10001-UP

1шт.

3

130-09-12911

SEAL,DUST

SN: 10001-UP

2шт.

4

120-50-31122

PIN

SN: 10001-UP

1шт.

5

04082-00514

LOCK,PLATE

SN: 10001-UP

1шт.

6

01010-51435

BOLT

SN: 10001-UP

2шт.

7

01602-21442

WASHER,SPRING

SN: 10001-UP

2шт.

8

112-50-11170

PIN

SN: 10001-UP

2шт.

9

04050-08050

PIN,COTTER

SN: 10001-UP

4шт.

10

120-50-31220

TUBE

SN: 10001-UP

1шт.

11

07217-50510

ELBOW

SN: 10001-UP

2шт.

12

07020-00000

FITTING,GREASE

SN: 10001-UP

1шт.

13

08036-10814

CLIP

SN: 10001-UP

2шт.

14

01010-51016

BOLT

SN: 10001-UP

2шт.

15

01602-21030

WASHER,SPRING

SN: 10001-UP

2шт.

Выбрано товаров: 16