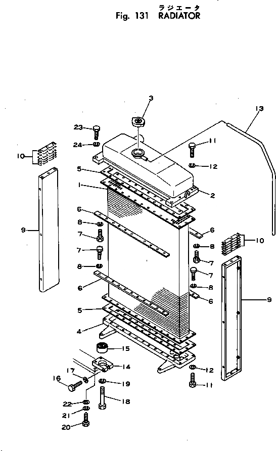
Запчасти Komatsu D40PF-1A РАДИАТОР КОМПОНЕНТЫ ДВИГАТЕЛЯ И ЭЛЕКТРИКА

Схема запчастей Komatsu D40PF-1A - РАДИАТОР КОМПОНЕНТЫ ДВИГАТЕЛЯ И ЭЛЕКТРИКА
FIT
1:1
100%

Артикул

Название

Примечание

Количество

|1

12F-03-11104

RADIATOR ASS'Y

SN: 2201-UP

1шт.

1

12F-03-11110

CORE

SN: 2201-UP

1шт.

2

12F-03-11311

TANK,UPPER

SN: 2201-UP

1шт.

3

113-03-21240

CAP

SN: 2201-UP

1шт.

4

12F-03-11270

TANK,LOWER

SN: 2201-UP

1шт.

5

12F-03-11160

GASKET

SN: 2201-UP

2шт.

6

12F-03-21160

PLATE

SN: 2201-UP

4шт.

7

01010-31025

BOLT

SN: 2201-UP

44шт.

8

01602-01030

WASHER,SPRING

SN: 2201-UP

44шт.

9

12F-03-11141

SUPPORT

SN: 2201-UP

2шт.

10

12F-03-05010

SHIM ASS'Y

SN: 2201-UP

2шт.

|10

0

SHIM¤ 0.2MM

SN: 2201-UP

2шт.

|10

0

SHIM¤ 0.5MM

SN: 2201-UP

4шт.

11

01010-31250

BOLT

SN: 2201-UP

12шт.

12

01602-01236

WASHER,SPRING

SN: 2201-UP

12шт.

13

07270-00890

TUBE,VINYL

SN: 2201-UP

1шт.

14

125-03-21230

BRACKET

SN: 2201-UP

2шт.

15

135-03-12110

DAMPER

SN: 2201-UP

2шт.

16

01010-31260

BOLT

SN: 2201-UP

2шт.

17

01602-01236

WASHER,SPRING

SN: 2201-UP

2шт.

18

01010-31460

BOLT

SN: 2201-UP

2шт.

19

01602-01442

WASHER,SPRING

SN: 2201-UP

2шт.

20

01010-31240

BOLT

SN: 2201-UP

4шт.

21

01602-01236

WASHER,SPRING

SN: 2201-UP

4шт.

22

01643-31232

WASHER

SN: 2201-UP

4шт.

23

01010-31240

BOLT

SN: 2201-UP

4шт.

24

01602-01236

WASHER,SPRING

SN: 2201-UP

4шт.

Выбрано товаров: 27