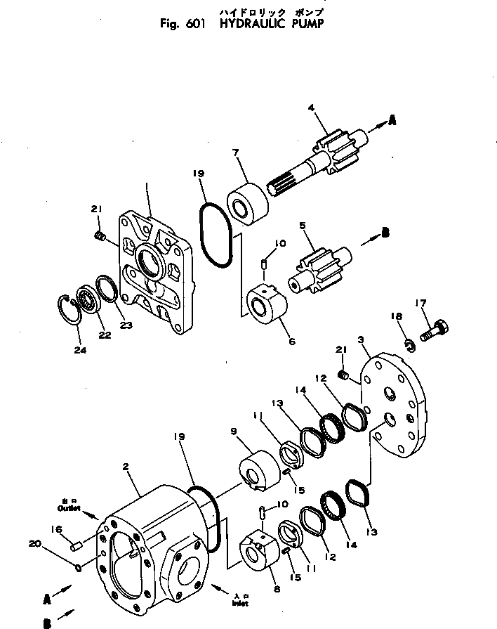
Запчасти Komatsu D40PF-1A ГИДР. НАСОС. УПРАВЛ-Е РАБОЧИМ ОБОРУДОВАНИЕМ

Схема запчастей Komatsu D40PF-1A - ГИДР. НАСОС. УПРАВЛ-Е РАБОЧИМ ОБОРУДОВАНИЕМ
FIT
1:1
100%

Артикул

Название

Примечание

Количество

|1

704-12-35100

PUMP ASS'Y,(KAR056)

SN: 2201-UP

1шт.

1

0

BRACKET

SN: 2201-UP

1шт.

2

0

CASE,GEAR

SN: 2201-UP

1шт.

3

0

COVER

SN: 2201-UP

1шт.

4

0

GEAR,DRIVE

SN: 2201-UP

1шт.

5

0

GEAR,DRIVEN

SN: 2201-UP

1шт.

6

0

BUSHING ASS'Y

SN: 2201-UP

1шт.

7

0

BUSHING ASS'Y

SN: 2201-UP

1шт.

8

0

BUSHING ASS'Y

SN: 2201-UP

1шт.

9

0

BUSHING ASS'Y

SN: 2201-UP

1шт.

10

0

PIN

SN: 2201-UP

2шт.

11

0

PLATE,SEAL

SN: 2201-UP

2шт.

12

0

RING,BACK-UP

SN: 2201-UP

2шт.

13

0

RING,BACK-UP

SN: 2201-UP

2шт.

14

0

U-RING

SN: 2201-UP

2шт.

15

0

PIN,ROLL

SN: 2201-UP

4шт.

16

0

PIN,DOWEL

SN: 2201-UP

2шт.

17

0

BOLT

SN: 2201-UP

16шт.

18

0

WASHER,SPRING

SN: 2201-UP

16шт.

19

0

O-RING

SN: 2201-UP

2шт.

20

0

O-RING

SN: 2201-UP

2шт.

21

0

PLUG

SN: 2201-UP

2шт.

22

07430-11162

SEAL,OIL

SN: 2201-UP

1шт.

23

704-17-03870

PLATE

SN: 2201-UP

1шт.

24

04065-04518

RING,SNAP

SN: 2201-UP

1шт.

Выбрано товаров: 25