Запчасти Komatsu D40PF-1A ПРЯМ. ОТВАЛ ОТВАЛ РАБОЧЕЕ ОБОРУДОВАНИЕ

Схема запчастей Komatsu D40PF-1A - ПРЯМ. ОТВАЛ ОТВАЛ РАБОЧЕЕ ОБОРУДОВАНИЕ
FIT
1:1
100%

Артикул

Название

Примечание

Количество

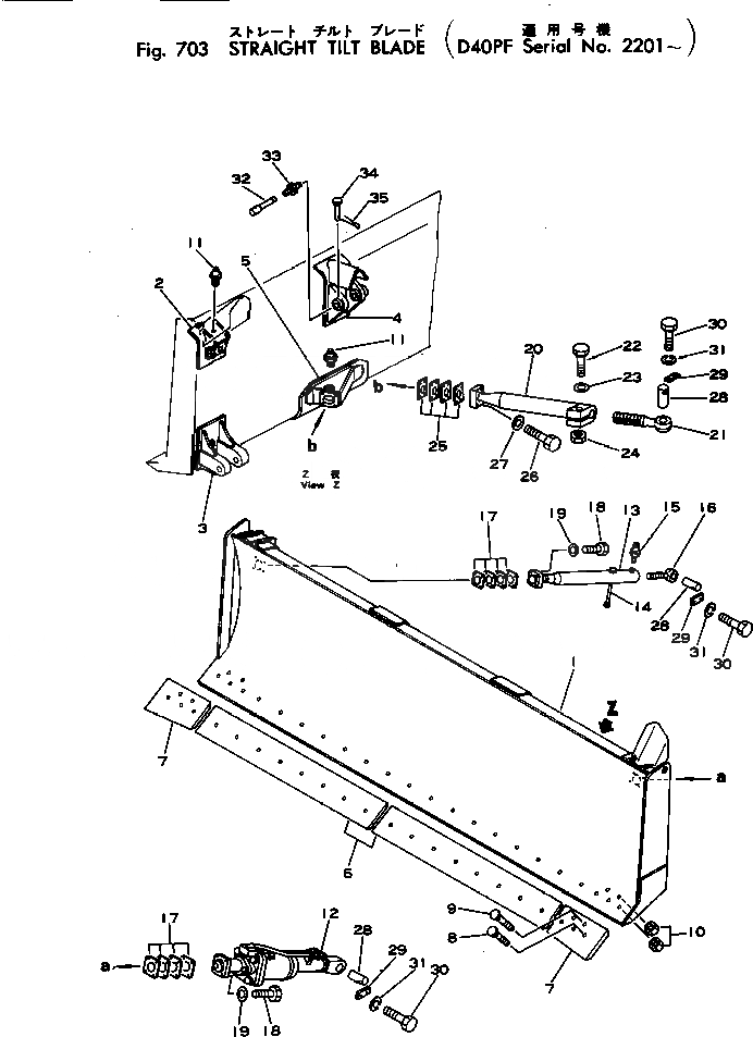
1

12F-70-21110

BLADE

SN: 2201-UP

1шт.

2

12F-70-21120

BRACKET (WELDED)

SN: 2201-UP

2шт.

3

12F-70-21170

BRACKET,L.H. (WELDED)

SN: 2201-UP

1шт.

|3

12F-70-21160

BRACKET,R.H. (WELDED)

SN: 2201-UP

1шт.

4

12F-70-21140

BRACKET,L.H. (WELDED)

SN: 2201-UP

1шт.

|4

12F-70-21150

BRACKET,R.H. (WELDED)

SN: 2201-UP

1шт.

5

12F-70-21180

BRACKET,L.H. (WELDED)

SN: 2201-UP

1шт.

|5

12F-70-21190

BRACKET,R.H. (WELDED)

SN: 2201-UP

1шт.

6

12F-70-11640

EDGE

SN: 2201-UP

2шт.

7

13F-A70-1570

BIT,END¤ L.H.

SN: 2201-UP

1шт.

|7

13F-A70-1580

BIT,END¤ R.H.

SN: 2201-UP

1шт.

8

02090-11060

BOLT

SN: 2201-UP

22шт.

9

02090-11085

BOLT

SN: 2201-UP

4шт.

10

02290-11016

NUT

SN: 2201-UP

26шт.

11

07020-00000

FITTING,GREASE

SN: 2201-UP

4шт.

12

12F-63-52100

CYLINDER ASS'Y

SN: 2201-UP

1шт.

|13

12F-70-00041

BRACE ASS'Y

SN: 2201-UP

1шт.

13

12F-70-21330

BRACE

SN: 2201-UP

1шт.

14

101-71-12250

LEVER

SN: 2201-UP

1шт.

15

07020-00000

FITTING,GREASE

SN: 2201-UP

1шт.

16

12F-70-11260

SCREW

SN: 2201-UP

1шт.

17

112-71-00060

SHIM ASS'Y

SN: 2201-UP

1шт.

|17

0

SHIM¤ 1.0MM

SN: 2201-UP

2шт.

|17

0

SHIM¤ 0.5MM

SN: 2201-UP

2шт.

18

01010-31650

BOLT

SN: 2201-UP

8шт.

19

01643-31645

WASHER

SN: 2201-UP

8шт.

|20

12F-70-00051

BRACE ASS'Y

SN: 2201-UP

2шт.

20

12F-70-21210

BRACE

SN: 2201-UP

1шт.

21

12F-70-11260

SCREW

SN: 2201-UP

1шт.

22

01011-32000

BOLT

SN: 2201-UP

1шт.

23

01643-32060

WASHER

SN: 2201-UP

1шт.

24

01580-02016

NUT

SN: 2201-UP

1шт.

25

144-817-0620

SHIM ASS'Y

SN: 2201-UP

2шт.

|25

0

SHIM¤ 1.0MM

SN: 2201-UP

8шт.

|25

0

SHIM¤ 0.5MM

SN: 2201-UP

6шт.

26

01010-31865

BOLT

SN: 2201-UP

8шт.

27

01643-31845

WASHER

SN: 2201-UP

8шт.

28

12F-70-11350

PIN

SN: 2201-UP

4шт.

29

04082-00212

LOCK

SN: 2201-UP

4шт.

30

01010-31225

BOLT

SN: 2201-UP

8шт.

31

01602-01236

WASHER,SPRING

SN: 2201-UP

8шт.

32

124-817-1250

SHAFT

SN: 2201-UP

2шт.

33

07020-00000

FITTING,GREASE

SN: 2201-UP

2шт.

34

130-70-51190

PIN

SN: 2201-UP

2шт.

35

04050-03015

PIN,COTTER

SN: 2201-UP

2шт.

Выбрано товаров: 45