Запчасти Komatsu D40PF-1A ВЕРХН. ЗАЩИТА ОПЦИОННЫЕ КОМПОНЕНТЫ

Схема запчастей Komatsu D40PF-1A - ВЕРХН. ЗАЩИТА ОПЦИОННЫЕ КОМПОНЕНТЫ
FIT
1:1
100%

Артикул

Название

Примечание

Количество

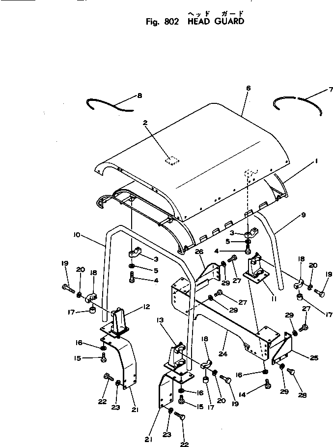
1

141-973-1110

ROOF

SN: 2201-UP

1шт.

2

09660-00100

PLATE¤ SAFETY

SN: 2201-UP

1шт.

3

141-973-1120

CLIP

SN: 2201-UP

4шт.

4

01010-31475

BOLT

SN: 2201-UP

8шт.

5

01602-01442

WASHER,SPRING

SN: 2201-UP

8шт.

6

131-906-1210

SHEET

SN: 2201-UP

1шт.

7

131-906-1220

ROPE¤ 8.5M

SN: 2201-UP

1шт.

8

131-906-1230

ROPE¤ 0.7M

SN: 2201-UP

2шт.

9

120-973-2120

POLE,REAR

SN: 2201-UP

1шт.

10

120-973-2111

POLE,FRONT

SN: 2201-UP

1шт.

11

120-973-2180

BRACKET

SN: 2201-UP

2шт.

12

120-973-2211

BRACKET,R.H.

SN: 2201-UP

1шт.

13

120-973-2191

BRACKET,L.H.

SN: 2201-UP

1шт.

14

01010-31640

BOLT

SN: 2201-UP

8шт.

15

01010-31660

BOLT

SN: 2201-UP

8шт.

16

01643-31645

WASHER

SN: 2201-UP

16шт.

17

141-973-1250

CUSHION

SN: 2201-UP

8шт.

18

141-973-1151

CAP

SN: 2201-UP

8шт.

19

01010-31475

BOLT

SN: 2201-UP

16шт.

20

01602-01442

WASHER,SPRING

SN: 2201-UP

16шт.

21

120-973-2131

PLATE

SN: 2201-UP

2шт.

22

01010-32460

BOLT

SN: 2201-UP

8шт.

23

01643-32460

WASHER

SN: 2201-UP

8шт.

24

120-973-2171

BRACKET

SN: 2201-UP

1шт.

25

120-973-2151

BRACKET,L.H.

SN: 2201-UP

1шт.

26

120-973-2161

BRACKET,R.H.

SN: 2201-UP

1шт.

27

01010-31640

BOLT

SN: 2201-UP

12шт.

28

01010-31650

BOLT

SN: 2201-UP

6шт.

29

01643-31645

WASHER

SN: 2201-UP

18шт.

Выбрано товаров: 29