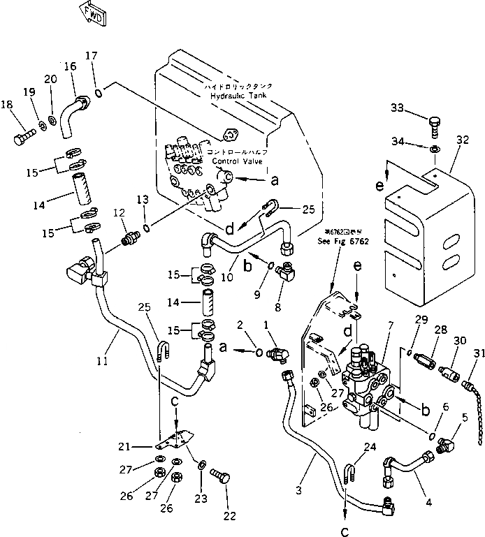
Запчасти Komatsu D40PF-5 ГИДРОЛИНИЯ (ВСПОМОГ. FРУКОЯТЬING ИНСТРУМЕНТ КЛАПАН ЛИНИЯ)(№-) УПРАВЛ-Е РАБОЧИМ ОБОРУДОВАНИЕМ

Схема запчастей Komatsu D40PF-5 - ГИДРОЛИНИЯ (ВСПОМОГ. FРУКОЯТЬING ИНСТРУМЕНТ КЛАПАН ЛИНИЯ)(№-) УПРАВЛ-Е РАБОЧИМ ОБОРУДОВАНИЕМ
FIT
1:1
100%

Артикул

Название

Примечание

Количество

1

113-62-21240

ELBOW

SN: 10001-@

1шт.

2

07002-13334

O-RING

SN: 10001-@

1шт.

3

12F-X54-1910

TUBE

SN: 10001-10265

1шт.

4

12F-X54-1920

TUBE

SN: 10001-10265

1шт.

5

113-62-21240

ELBOW

SN: 10001-@

1шт.

6

07002-13334

O-RING

SN: 10001-@

1шт.

7

709-82-11100

VALVE ASS'Y,(SEE FIG.6211)

SN: 10001-@

1шт.

8

23S-61-15620

ELBOW

SN: 10001-@

1шт.

9

07002-13334

O-RING

SN: 10001-@

1шт.

10

12F-X54-1941

TUBE

SN: 10001-10265

1шт.

11

12F-X54-1931

TUBE

SN: 10001-10265

1шт.

12

07230-11034

UNION

SN: 10001-@

1шт.

13

07002-13334

O-RING

SN: 10001-@

1шт.

14

203-62-22221

HOSE

SN: 10001-10265

2шт.

15

07281-00549

CLAMP

SN: 10001-10265

8шт.

16

120-62-31781

TUBE

SN: 10001-@

1шт.

17

07000-03040

O-RING

SN: 10001-@

1шт.

18

01010-51035

BOLT

SN: 10001-@

2шт.

19

01602-21030

WASHER,SPRING

SN: 10001-@

2шт.

20

01643-31032

WASHER

SN: 10001-@

2шт.

21

12F-X54-1951

PLATE

SN: 10001-@

1шт.

22

01010-51230

BOLT

SN: 10001-@

2шт.

23

01643-31232

WASHER

SN: 10001-@

2шт.

24

07283-22738

CLIP

SN: 10001-10265

1шт.

25

07283-23442

CLIP

SN: 10001-10265

2шт.

26

01599-01011

NUT

SN: 10001-10265

6шт.

27

01643-31032

WASHER

SN: 10001-10265

6шт.

28

12F-X54-1970

NIPPLE

SN: 10001-@

4шт.

29

07002-12434

O-RING

SN: 10001-@

4шт.

30

10E-60-16340

COUPLING

SN: 10001-@

4шт.

31

12F-60-17110

PLUG

SN: 10001-@

4шт.

32

12F-X54-1960

COVER

SN: 10001-10265

1шт.

33

01010-51025

BOLT

SN: 10001-@

4шт.

34

01643-31032

WASHER

SN: 10001-@

4шт.

Выбрано товаров: 34