Запчасти Komatsu D40PF-5 КОРПУС БЛОКА УПРАВЛЕНИЯ ПОВОРОТОМ И ОСНОВНАЯ РАМА(№-) ОСНОВН. МУФТА¤ ТРАНСМИССИЯ¤ РУЛЕВ. УПРАВЛЕНИЕ И КОНЕЧНАЯ ПЕРЕДАЧА

Схема запчастей Komatsu D40PF-5 - КОРПУС БЛОКА УПРАВЛЕНИЯ ПОВОРОТОМ И ОСНОВНАЯ РАМА(№-) ОСНОВН. МУФТА¤ ТРАНСМИССИЯ¤ РУЛЕВ. УПРАВЛЕНИЕ И КОНЕЧНАЯ ПЕРЕДАЧА
FIT
1:1
100%

Артикул

Название

Примечание

Количество

1

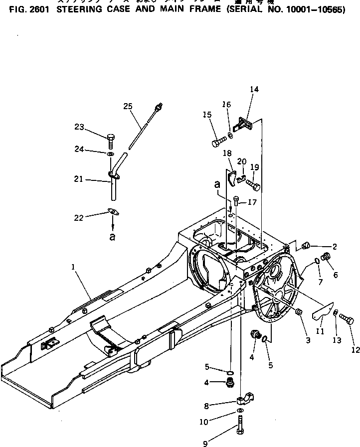
12F-21-42100

MAIN FRAME ASS'Y

SN: 10001-10565

1шт.

2

07049-02430

PLUG

SN: 10001-@

2шт.

3

131-21-41520

PLUG

SN: 10001-@

4шт.

4

07044-13620

PLUG

SN: 10001-@

3шт.

5

07002-33634

O-RING

SN: 10362-@

3шт.

|5

07002-03634

O-RING

SN: 10001-10361

3шт.

6

07040-13016

PLUG

SN: 10001-@

2шт.

7

07002-03034

O-RING

SN: 10001-@

2шт.

8

120-21-31381

CAP

SN: 10001-@

4шт.

9

01010-52280

BOLT

SN: 10001-@

8шт.

10

01643-32260

WASHER

SN: 10001-@

8шт.

11

120-21-31220

COVER

SN: 10001-@

2шт.

12

01010-51425

BOLT

SN: 10001-@

4шт.

13

01643-31445

WASHER

SN: 10001-@

4шт.

14

120-21-31241

BRACKET

SN: 10001-@

2шт.

15

01010-51230

BOLT

SN: 10001-@

4шт.

16

01643-31232

WASHER

SN: 10001-@

4шт.

17

113-21-22190

PIN

SN: 10001-@

2шт.

18

120-21-31391

PLATE

SN: 10001-@

2шт.

19

01010-51016

BOLT

SN: 10001-@

4шт.

20

113-21-22160

LOCK

SN: 10001-@

2шт.

21

120-21-31284

FILLER

SN: 10202-10565

1шт.

|21

120-21-31283

FILLER

SN: 10001-10201

1шт.

22

120-21-31262

GASKET

SN: 10001-@

1шт.

23

01010-51025

BOLT

SN: 10001-10565

2шт.

24

01643-31032

WASHER

SN: 10001-@

2шт.

25

120-21-41511

GAUGE,OIL LEVEL

SN: 10001-10565

1шт.

Выбрано товаров: 27