Запчасти Komatsu 6D105-1CC-PF СИСТЕМА СМАЗКИ МАСЛООХЛАДИТЕЛЬ(№7-) СИСТЕМА СМАЗКИ МАСЛ. СИСТЕМА

Схема запчастей Komatsu 6D105-1CC-PF - СИСТЕМА СМАЗКИ МАСЛООХЛАДИТЕЛЬ(№7-) СИСТЕМА СМАЗКИ МАСЛ. СИСТЕМА
FIT
1:1
100%

Артикул

Название

Примечание

Количество

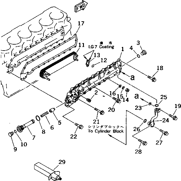
1

6136-61-2113

COVER ASS'Y

SN: 103110-UP

1шт.

|1

07043-00415

PLUG

SN: 92268-UP

1шт.

2

02720-40607

PLUG

SN: 92268-UP

2шт.

3

6138-61-2180

PLUG

SN: 92268-UP

1шт.

4

6136-61-2190

O-RING (K2)

SN: 92268-UP

1шт.

5

6136-61-2170

VALVE

SN: 92268-UP

1шт.

6

6136-61-2160

SPRING

SN: 92268-UP

1шт.

7

6136-61-2180

CASE

SN: 92268-UP

1шт.

8

6136-61-2150

O-RING (K2)

SN: 92268-UP

1шт.

9

6136-61-2140

PLUG

SN: 92268-UP

1шт.

10

07000-02018

O-RING (K2)

SN: 92268-UP

1шт.

11

600-651-1440

ELEMENT

SN: 92268-UP

1шт.

12

6136-61-2190

O-RING (K2)

SN: 92268-UP

2шт.

13

6136-61-2290

GASKET (K2)

SN: 103110-UP

2шт.

14

01580-10806

NUT

SN: 92268-UP

4шт.

15

01602-20825

WASHER,SPRING

SN: 92268-UP

4шт.

16

01641-20812

WASHER

SN: 92268-UP

4шт.

17

6136-61-2811

GASKET (K2)

SN: 92268-UP

1шт.

18

01435-20820

BOLT

SN: 106576-UP

4шт.

19

01435-00825

BOLT

SN: 106576-UP

1шт.

20

01435-20830

BOLT

SN: 106576-UP

16шт.

21

01435-20865

BOLT

SN: 106576-UP

1шт.

22

01435-20825

BOLT

SN: 106576-UP

2шт.

23

01640-20816

WASHER

SN: 92268-UP

1шт.

24

6136-51-6311

PIPE,OIL

SN: 92268-UP

1шт.

25

07000-23022

O-RING (K2)

SN: 92268-UP

1шт.

26

07000-63028

O-RING (K2)

SN: 92268-UP

1шт.

27

01435-20825

BOLT

SN: 106576-UP

1шт.

28

01435-20835

BOLT

SN: 106576-UP

1шт.

29

09920-00150

LIQUID GASKET,LG-7¤ 150G

SN: 103110-UP

1шт.

1

6136-61-2113

COVER ASS'Y

SN: 103110-UP

1шт.

|1

07043-00415

PLUG

SN: 92268-UP

1шт.

2

02720-40607

PLUG

SN: 92268-UP

2шт.

3

6138-61-2180

PLUG

SN: 92268-UP

1шт.

4

6136-61-2190

O-RING (K2)

SN: 92268-UP

1шт.

5

6136-61-2170

VALVE

SN: 92268-UP

1шт.

6

6136-61-2160

SPRING

SN: 92268-UP

1шт.

7

6136-61-2180

CASE

SN: 92268-UP

1шт.

8

6136-61-2150

O-RING (K2)

SN: 92268-UP

1шт.

9

6136-61-2140

PLUG

SN: 92268-UP

1шт.

10

07000-02018

O-RING (K2)

SN: 92268-UP

1шт.

11

600-651-1440

ELEMENT

SN: 92268-UP

1шт.

12

6136-61-2190

O-RING (K2)

SN: 92268-UP

2шт.

13

6136-61-2290

GASKET (K2)

SN: 103110-UP

2шт.

14

01580-10806

NUT

SN: 92268-UP

4шт.

15

01602-20825

WASHER,SPRING

SN: 92268-UP

4шт.

16

01641-20812

WASHER

SN: 92268-UP

4шт.

17

6136-61-2811

GASKET (K2)

SN: 92268-UP

1шт.

18

01435-20820

BOLT

SN: 106576-UP

4шт.

19

01435-00825

BOLT

SN: 106576-UP

1шт.

20

01435-20830

BOLT

SN: 106576-UP

16шт.

21

01435-20865

BOLT

SN: 106576-UP

1шт.

22

01435-20825

BOLT

SN: 106576-UP

2шт.

23

01640-20816

WASHER

SN: 92268-UP

1шт.

24

6136-51-6311

PIPE,OIL

SN: 92268-UP

1шт.

25

07000-23022

O-RING (K2)

SN: 92268-UP

1шт.

26

07000-63028

O-RING (K2)

SN: 92268-UP

1шт.

27

01435-20825

BOLT

SN: 106576-UP

1шт.

28

01435-20835

BOLT

SN: 106576-UP

1шт.

29

09920-00150

LIQUID GASKET,LG-7¤ 150G

SN: 103110-UP

1шт.

Выбрано товаров: 60