Запчасти Komatsu D40PL-1 КОРПУС ТРАНСМИССИИ(№-) ОСНОВН. МУФТА И ТРАНСМИССИЯ

Схема запчастей Komatsu D40PL-1 - КОРПУС ТРАНСМИССИИ(№-) ОСНОВН. МУФТА И ТРАНСМИССИЯ
FIT
1:1
100%

Артикул

Название

Примечание

Количество

|$0

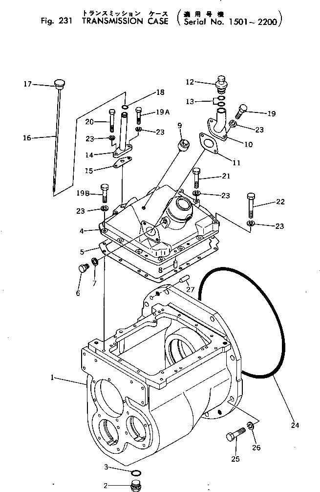
12F-14-00010

TRANSMISSION ASS'Y

SN: 1501-2200

1шт.

1

12F-14-11110

CASE,TRANSMISSION

SN: 1501-2200

1шт.

2

07044-13620

PLUG,DRAIN

SN: 1501-@

1шт.

3

07002-03634

O-RING

SN: 1501-@

1шт.

4

12F-14-13110

COVER,CASE

SN: 1501-2200

1шт.

5

12F-14-13120

GASKET

SN: 1501-@

1шт.

6

07040-01812

PLUG

SN: 1501-@

1шт.

7

07003-11824

GASKET

SN: 1501-@

1шт.

8

04020-01024

PIN,DOWEL

SN: 1501-@

2шт.

9

07030-10252

BREATHER

SN: 1501-@

1шт.

10

12F-14-12131

FILLER,OIL

SN: 1501-2200

1шт.

11

131-14-42580

GASKET

SN: 1501-2200

1шт.

12

09250-00028

CAP

SN: 1501-2200

1шт.

13

07000-03022

O-RING

SN: 1501-2200

2шт.

14

12F-14-12110

GUIDE

SN: 1501-2200

1шт.

15

131-14-42550

GASKET

SN: 1501-2200

1шт.

16

12F-14-12120

GAUGE

SN: 1501-2200

1шт.

17

09250-00000

CAP

SN: 1501-2200

1шт.

18

07000-02018

O-RING

SN: 1501-2200

1шт.

19

01010-31030

BOLT

SN: 1501-@

2шт.

19A

01010-31030

BOLT

SN: 1501-2200

1шт.

19B

01010-31030

BOLT

SN: 1501-@

7шт.

20

01010-31070

BOLT

SN: 1501-2200

1шт.

21

01010-31055

BOLT

SN: 1501-@

4шт.

22

01010-31065

BOLT

SN: 1501-@

1шт.

23

01602-01030

WASHER,SPRING

SN: 1501-2200

16шт.

24

07000-05440

O-RING

SN: 1501-@

1шт.

25

01010-31850

BOLT

SN: 1501-@

8шт.

26

01643-31845

WASHER,SPRING

SN: .-@

8шт.

26

01602-01854

WASHER,SPRING

SN: 1501-.

8шт.

27

04020-01638

PIN,DOWEL

SN: 1501-@

1шт.

Выбрано товаров: 31