Запчасти Komatsu D40PL-1 РЫЧАГ УПРАВЛ-Я ПОДАЧЕЙ ТОПЛИВА(№-) КОМПОНЕНТЫ ДВИГАТЕЛЯ И ЭЛЕКТРИКА

Схема запчастей Komatsu D40PL-1 - РЫЧАГ УПРАВЛ-Я ПОДАЧЕЙ ТОПЛИВА(№-) КОМПОНЕНТЫ ДВИГАТЕЛЯ И ЭЛЕКТРИКА
FIT
1:1
100%

Артикул

Название

Примечание

Количество

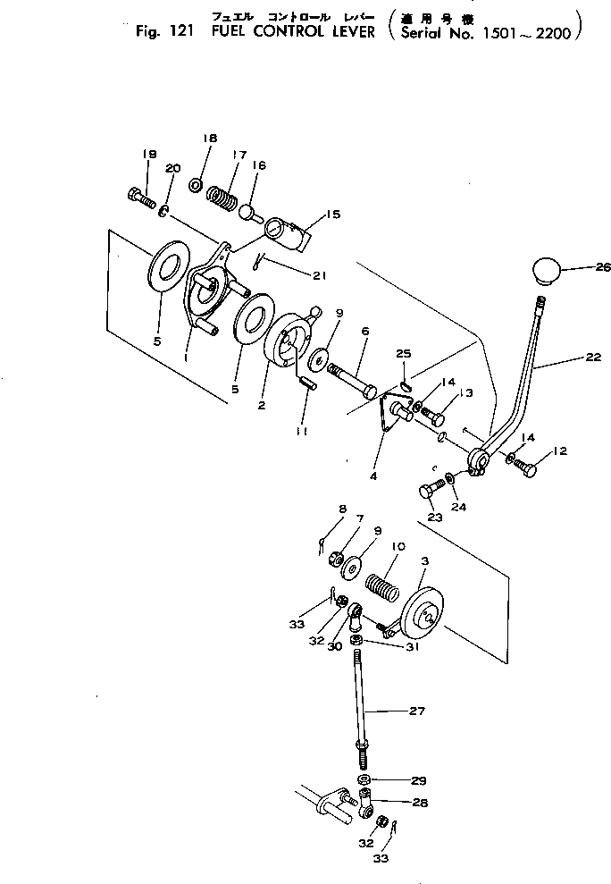
1

124-43-21240

BRACKET

SN: 1501-2200

1шт.

2

124-43-21220

DISC

SN: 1501-2200

1шт.

3

124-43-21230

DISC

SN: 1501-2200

1шт.

4

124-43-21210

SHAFT

SN: 1501-2200

1шт.

5

101-43-11281

FACING

SN: 1501-2200

2шт.

6

111-43-11290

BOLT

SN: 1501-2200

1шт.

7

01593-01210

NUT

SN: 1501-2200

1шт.

8

04050-13020

PIN,COTTER

SN: 1501-2200

1шт.

9

101-43-11380

COVER

SN: 1501-2200

2шт.

10

130-43-18134

SPRING

SN: 1501-2200

1шт.

11

04025-00616

PIN,ROLL

SN: 1501-2200

2шт.

12

01010-30612

BOLT

SN: 1501-2200

3шт.

13

01010-30616

BOLT

SN: 1501-2200

3шт.

14

01602-00619

WASHER,SPRING

SN: 1501-2200

6шт.

15

124-43-21150

HOLDER

SN: 1501-2200

1шт.

16

124-43-21260

PIN

SN: .-2200

1шт.

16

124-43-21160

PIN

SN: 1501-.

1шт.

17

124-43-21270

SPRING

SN: .-@

1шт.

17

124-43-21170

SPRING

SN: 1501-.

1шт.

18

01642-21216

WASHER

SN: 1501-2200

1шт.

19

01010-30620

BOLT

SN: 1501-2200

2шт.

20

01602-00619

WASHER,SPRING

SN: 1501-2200

2шт.

21

04050-16045

PIN,COTTER

SN: 1501-2200

1шт.

22

124-43-21110

LEVER

SN: 1501-2200

1шт.

23

01010-30825

BOLT

SN: 1501-2200

1шт.

24

01602-00825

WASHER,SPRING

SN: 1501-@

1шт.

25

04010-00522

KEY

SN: 1501-2200

1шт.

26

09304-01250

KNOB

SN: 1501-2200

1шт.

27

04248-30827

ROD

SN: 1501-2200

1шт.

28

04250-40847

END,ROD

SN: 1501-2200

1шт.

29

01580-00806

NUT

SN: 1501-2200

1шт.

30

04250-60847

END,ROD

SN: 1501-2200

1шт.

31

01508-10805

NUT, L.H. THREAD

SN: 1501-2200

1шт.

32

01590-00809

NUT

SN: 1501-2200

2шт.

33

04050-12015

PIN,COTTER

SN: 1501-2200

2шт.

Выбрано товаров: 35