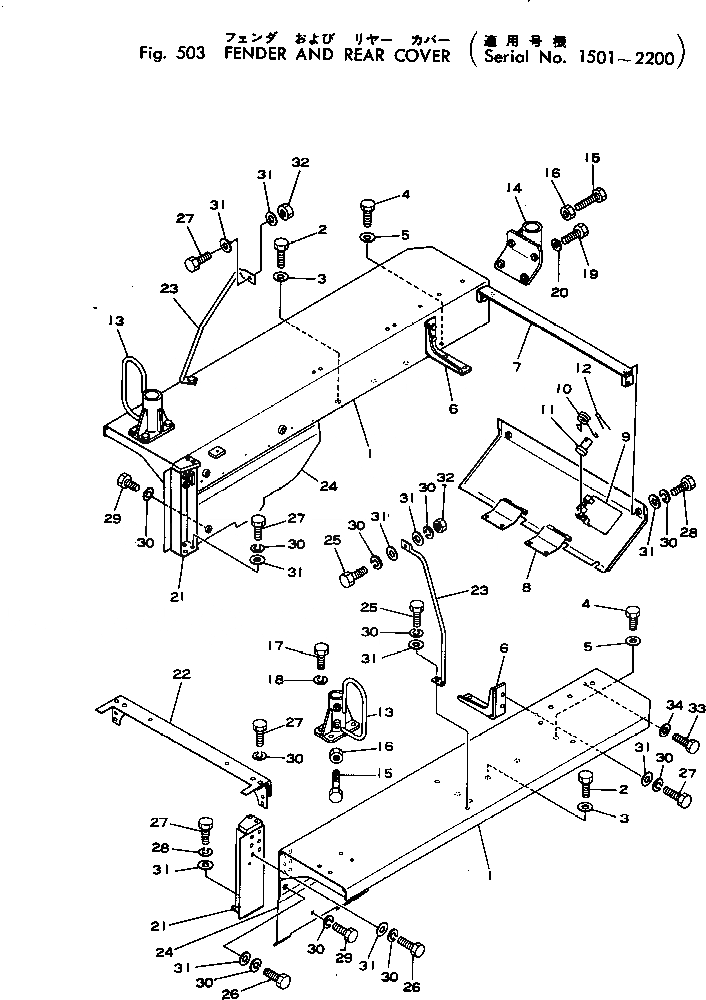
Запчасти Komatsu D40PL-1 КРЫЛО И ЗАДН. КРЫШКА(№-) ЧАСТИ КОРПУСА

Схема запчастей Komatsu D40PL-1 - КРЫЛО И ЗАДН. КРЫШКА(№-) ЧАСТИ КОРПУСА
FIT
1:1
100%

Артикул

Название

Примечание

Количество

1

124-54-23114

FENDER,L.H.

SN: .-2200

1шт.

1

124-54-23113

FENDER,L.H.

SN: 1503-.

1шт.

1

124-54-23111

FENDER,L.H.

SN: 1501-1502

1шт.

1

124-54-23124

FENDER,R.H.

SN: .-2200

1шт.

1

124-54-23123

FENDER,R.H.

SN: 1503-.

1шт.

1

124-54-23121

FENDER,R.H.

SN: 1501-1502

1шт.

2

01010-32455

BOLT

SN: 1501-@

4шт.

3

01643-32460

WASHER

SN: 1501-@

4шт.

4

01010-32045

BOLT

SN: 1501-@

4шт.

5

01643-32060

WASHER

SN: 1501-@

4шт.

6

124-54-23190

BRACKET,L.H.

SN: 1501-@

1шт.

6

124-54-23180

BRACKET,R.H.

SN: 1501-@

1шт.

7

124-54-23170

FRAME

SN: 1501-@

1шт.

|$13

124-54-00040

COVER ASS'Y

SN: 1501-@

1шт.

8

0

COVER

SN: 1501-@

1шт.

9

124-54-23210

COVER

SN: 1501-@

1шт.

10

141-54-12290

SPRING

SN: 1501-@

1шт.

11

04205-10618

PIN

SN: 1501-@

2шт.

12

04050-01610

PIN,COTTER

SN: 1501-@

2шт.

13

124-54-23270

BRACKET,FRONT

SN: 1501-2200

2шт.

14

124-54-23231

BRACKET,REAR

SN: 1503-@

2шт.

14

124-54-23230

BRACKET,REAR

SN: 1501-1502

2шт.

15

01016-31440

BOLT

SN: 1501-@

8шт.

16

01580-01411

NUT

SN: 1501-@

8шт.

17

01010-31440

BOLT

SN: 1501-@

8шт.

18

01602-01442

WASHER,SPRING

SN: 1501-@

8шт.

19

01010-31640

BOLT

SN: 1501-@

8шт.

20

01643-31645

WASHER

SN: 1501-@

8шт.

21

124-54-23160

SUPPORT,L.H. (P)

SN: 1501-2200

1шт.

21

124-920-8130

SUPPORT,L.H. (PL)

SN: 1501-UP

1шт.

21

124-54-23150

SUPPORT,R.H.

SN: 1501-2200

1шт.

22

124-54-23141

STAY

SN: 1563-2200

1шт.

22

0

STAY

SN: 1501-1562

1шт.

23

124-54-23250

HANDRAIL,L.H.

SN: 1501-2200

1шт.

23

124-54-23260

HANDRAIL,R.H.

SN: 1501-2200

1шт.

24

124-920-8120

PLATE,L.H.

SN: 1501-2200

1шт.

24

124-54-23380

PLATE,R.H.

SN: 1501-2200

1шт.

25

01010-31225

BOLT

SN: 1501-@

2шт.

26

01010-31230

BOLT

SN: 1501-@

20шт.

27

01010-31235

BOLT

SN: 1501-@

20шт.

28

01010-31240

BOLT

SN: 1501-@

2шт.

29

01010-31245

BOLT

SN: 1501-@

4шт.

30

01602-01236

WASHER,SPRING

SN: 1501-@

49шт.

31

01643-31232

WASHER

SN: 1501-@

49шт.

32

01580-01210

NUT

SN: 1501-@

2шт.

33

01010-31635

BOLT

SN: 1501-@

2шт.

34

01643-31645

WASHER

SN: 1501-@

2шт.

Выбрано товаров: 47