Запчасти Komatsu D40PL-3 ПРЯМОЙ ОТВАЛ ОПЦИОННЫЕ КОМПОНЕНТЫ

Схема запчастей Komatsu D40PL-3 - ПРЯМОЙ ОТВАЛ ОПЦИОННЫЕ КОМПОНЕНТЫ
FIT
1:1
100%

Артикул

Название

Примечание

Количество

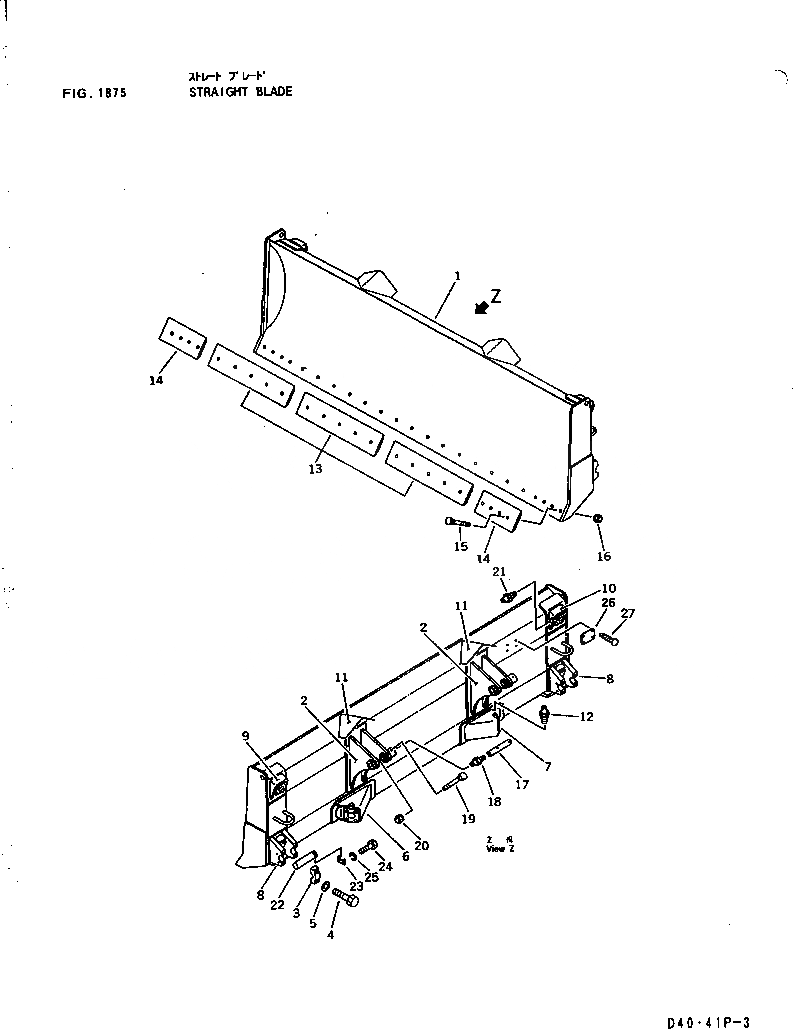
1

12F-Y15-3101

BLADE ASS'Y

SN: 6001-UP

1шт.

2

12F-70-31123

BRACKET (WELDED)

SN: 6001-UP

2шт.

3

120-Y20-3241

CAP

SN: 6001-UP

4шт.

4

01010-31655

BOLT

SN: 6001-UP

8шт.

5

01643-31645

WASHER

SN: 6001-UP

8шт.

6

12F-70-31142

BRACKET,L.H. (WELDED)

SN: 6001-UP

1шт.

7

12F-70-31152

BRACKET,R.H. (WELDED)

SN: 6001-UP

1шт.

8

12F-70-31341

BRACKET (WELDED)

SN: 6001-UP

2шт.

9

12F-70-31161

BRACKET,L.H. (WELDED)

SN: 6001-UP

1шт.

10

12F-70-31311

BRACKET,R.H. (WELDED)

SN: 6001-UP

1шт.

11

12F-70-31231

COVER (WELDED)

SN: 6001-UP

2шт.

12

07020-00000

FITTING

SN: 6001-UP

2шт.

13

12F-70-31251

EDGE

SN: 6001-UP

3шт.

14

112-946-1510

BIT

SN: 6001-UP

2шт.

15

02090-11055

BOLT

SN: 6001-UP

23шт.

16

02290-11016

NUT

SN: 6001-UP

23шт.

17

130-817-5461

SHAFT

SN: 6001-UP

2шт.

18

07020-00000

FITTING,GREASE

SN: 6001-UP

2шт.

19

01010-31080

BOLT

SN: 6001-UP

2шт.

20

01598-01011

NUT

SN: 6001-UP

2шт.

21

07020-00000

FITTING,GREASE

SN: 6001-UP

2шт.

22

12F-70-31321

PIN

SN: 6001-UP

2шт.

23

12F-70-31331

PLATE,LOCK

SN: 6001-UP

2шт.

24

01010-31225

BOLT

SN: 6001-UP

4шт.

25

01602-01236

WASHER,SPRING

SN: 6001-UP

4шт.

26

09601-00835

PLATE¤ NAME,(LIMITED SUPPLY)

SN: 6001-UP

1шт.

27

04418-13060

SCREW

SN: 6001-UP

4шт.

Выбрано товаров: 27