Запчасти Komatsu D40PL-3 ROPS КОРПУС ОПЦИОННЫЕ КОМПОНЕНТЫ

Схема запчастей Komatsu D40PL-3 - ROPS КОРПУС ОПЦИОННЫЕ КОМПОНЕНТЫ
FIT
1:1
100%

Артикул

Название

Примечание

Количество

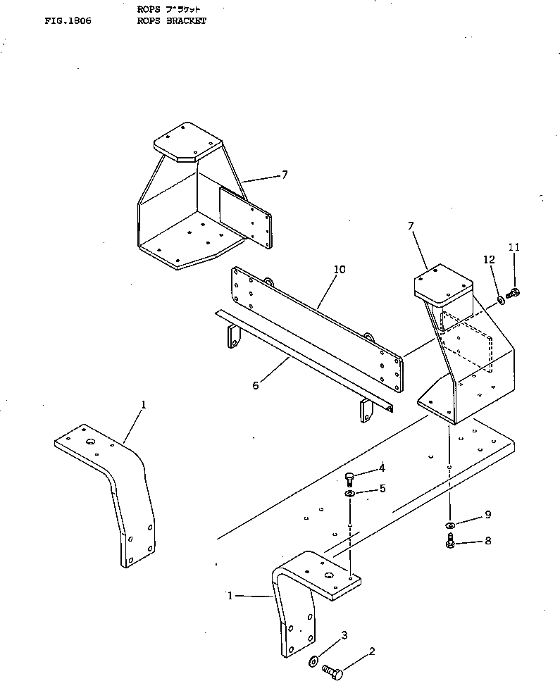
1

120-Y78-4270

BRACKET,L.H.

SN: 6001-UP

1шт.

|1

120-Y78-4280

BRACKET,R.H.

SN: 6001-UP

1шт.

2

01010-32470

BOLT

SN: 6001-UP

8шт.

3

01643-32460

WASHER

SN: 6001-UP

8шт.

4

01010-31635

BOLT

SN: 6001-UP

8шт.

5

01643-31645

WASHER

SN: 6001-UP

8шт.

6

120-54-33441

FRAME

SN: 6001-UP

1шт.

7

120-Y78-4290

BRACKET,L.H.

SN: 6001-UP

1шт.

|7

120-Y78-4310

BRACKET,R.H.

SN: 6001-UP

1шт.

8

01010-31650

BOLT

SN: 6001-UP

12шт.

9

01643-31645

WASHER

SN: 6001-UP

12шт.

10

120-Y78-4260

PLATE

SN: 6001-UP

1шт.

11

01010-31640

BOLT

SN: 6001-UP

12шт.

12

01643-31645

WASHER

SN: 6001-UP

12шт.

Выбрано товаров: 0