Запчасти Komatsu D40PL-3 КОМПРЕССОР СИСТЕМА (ТИП ) (ДЛЯ MUDDY ВОДН. ЗАЩИТА) ОПЦИОННЫЕ КОМПОНЕНТЫ

Схема запчастей Komatsu D40PL-3 - КОМПРЕССОР СИСТЕМА (ТИП ) (ДЛЯ MUDDY ВОДН. ЗАЩИТА) ОПЦИОННЫЕ КОМПОНЕНТЫ
FIT
1:1
100%

Артикул

Название

Примечание

Количество

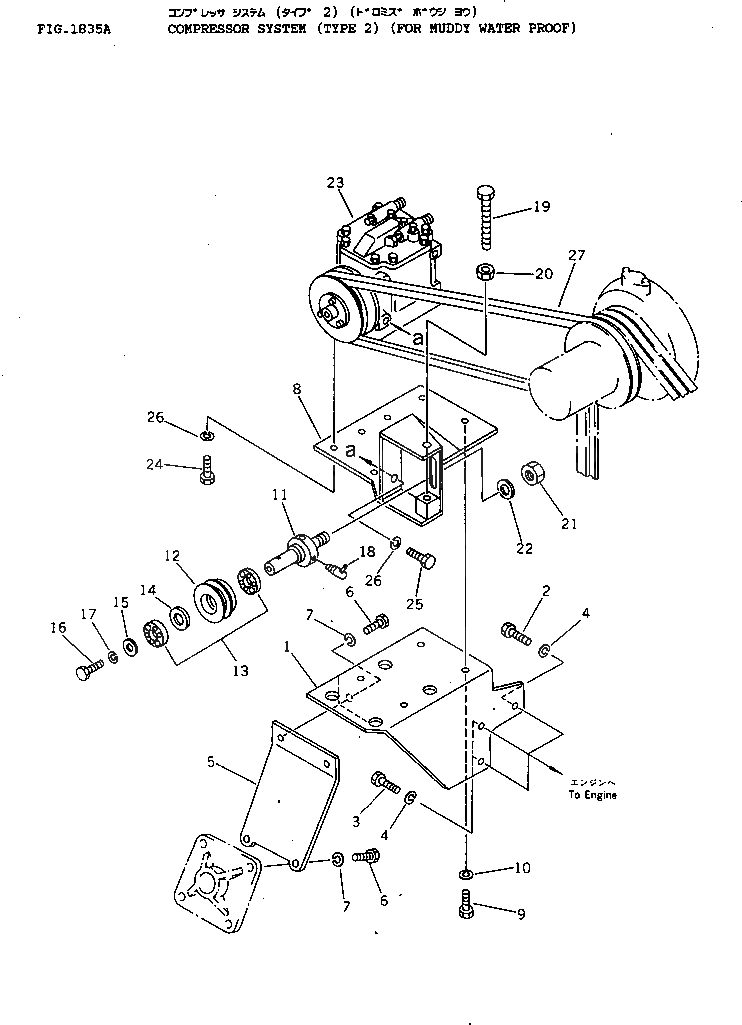
1

120-Y79-7120

BRACKET

SN: 6001-UP

1шт.

2

01010-50845

BOLT

SN: 6001-UP

1шт.

3

01010-50835

BOLT

SN: 6001-UP

2шт.

4

01602-20825

WASHER,SPRING

SN: 6001-UP

3шт.

5

120-Y79-7130

PLATE

SN: 6001-UP

1шт.

6

01010-51035

BOLT

SN: 6001-UP

4шт.

7

01602-21030

WASHER,SPRING

SN: 6001-UP

4шт.

8

120-Y79-7110

BRACKET

SN: 6001-UP

1шт.

9

01010-51230

BOLT

SN: 6001-UP

4шт.

10

01602-21236

WASHER,SPRING

SN: 6001-UP

4шт.

11

120-Y79-7150

SHAFT

SN: 6001-UP

1шт.

12

120-Y79-7160

PULLEY,TENSION

SN: 6001-UP

1шт.

13

06007-06204

BEARING

SN: 6001-UP

2шт.

14

6115-61-4130

SPACER

SN: 6001-UP

1шт.

15

6115-61-4140

WASHER

SN: 6001-UP

1шт.

16

01010-31020

BOLT

SN: 6001-UP

1шт.

17

01602-01030

WASHER,SPRING

SN: 6001-UP

1шт.

18

07020-00675

FITTING,GREASE

SN: 6001-UP

1шт.

19

6715-61-3810

BOLT

SN: 6001-UP

1шт.

20

01580-11210

NUT

SN: 6001-UP

1шт.

21

01582-11613

NUT

SN: 6001-UP

1шт.

22

01643-31645

WASHER

SN: 6001-UP

1шт.

23

145-Z79-5400

COMPRESSOR ASS'Y

SN: 6001-UP

1шт.

24

01010-50835

BOLT

SN: 6001-UP

4шт.

25

01010-50825

BOLT

SN: 6001-UP

2шт.

26

01602-20825

WASHER,SPRING

SN: 6001-UP

6шт.

27

04120-21741

V-BELT

SN: 6001-UP

1шт.

Выбрано товаров: 0