Запчасти Komatsu D40PL-5 ТРАНСМИССИЯ (КОРПУС COVER) (/7) ОСНОВН. МУФТА¤ ТРАНСМИССИЯ¤ РУЛЕВ. УПРАВЛЕНИЕ И КОНЕЧНАЯ ПЕРЕДАЧА

Схема запчастей Komatsu D40PL-5 - ТРАНСМИССИЯ (КОРПУС COVER) (/7) ОСНОВН. МУФТА¤ ТРАНСМИССИЯ¤ РУЛЕВ. УПРАВЛЕНИЕ И КОНЕЧНАЯ ПЕРЕДАЧА
FIT
1:1
100%

Артикул

Название

Примечание

Количество

|1

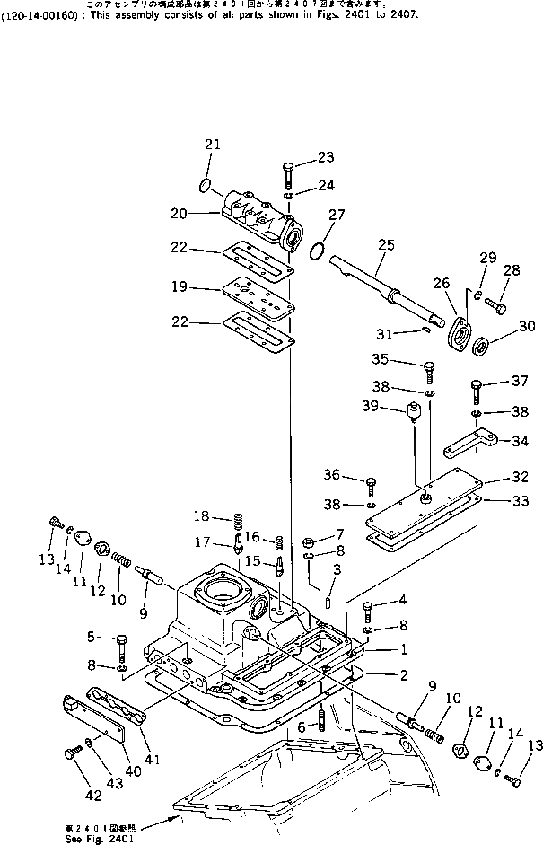
120-14-00010

TRANSMISSION ASS'Y

SN: 10001-UP

1шт.

|$$2

THIS ASSEMBLY CONSISTS OF ALL PARTS SHOWN IN FIGS.2401 TO 2407.

-1шт.

1

120-14-35111

CASE

SN: 10001-UP

1шт.

2

120-14-35121

GASKET

SN: 10001-UP

1шт.

3

141-14-32260

PIN,DOWEL

SN: 10001-UP

2шт.

4

01010-51030

BOLT

SN: 10001-UP

13шт.

5

01010-51065

BOLT

SN: 10001-UP

1шт.

6

01144-51025

STUD

SN: 10001-UP

1шт.

7

01580-11008

NUT

SN: 10001-UP

1шт.

8

01602-21030

WASHER,SPRING

SN: 10001-UP

15шт.

9

141-14-32331

STOPPER

SN: 10001-UP

2шт.

10

141-14-32340

SPRING

SN: 10001-UP

2шт.

11

141-14-32360

COVER

SN: 10001-UP

2шт.

12

141-14-32350

GASKET

SN: 10001-UP

2шт.

13

01010-51025

BOLT

SN: 10001-UP

4шт.

14

01602-21030

WASHER,SPRING

SN: 10001-UP

4шт.

15

141-14-32371

PLUNGER

SN: 10001-UP

3шт.

16

120-14-35540

SPRING

SN: 10001-UP

3шт.

17

141-14-32270

PLUNGER

SN: 10001-UP

1шт.

18

120-14-35530

SPRING

SN: 10001-UP

1шт.

19

141-14-32471

PLATE

SN: 10001-UP

1шт.

20

141-14-32412

COVER

SN: 10001-UP

1шт.

21

07046-03520

PLUG

SN: 10001-UP

1шт.

22

141-14-32432

GASKET

SN: 10001-UP

2шт.

23

01010-51070

BOLT

SN: 10001-UP

6шт.

24

01602-21030

WASHER,SPRING

SN: 10001-UP

6шт.

25

120-14-23180

SHAFT

SN: 10001-UP

1шт.

26

120-14-23190

FLANGE

SN: 10001-UP

1шт.

27

07000-03048

O-RING

SN: 10001-UP

1шт.

28

01010-51035

BOLT

SN: 10001-UP

2шт.

29

01602-21030

WASHER,SPRING

SN: 10001-UP

2шт.

30

07012-00025

SEAL,OIL

SN: 10001-UP

1шт.

31

04010-00519

KEY

SN: 10001-UP

1шт.

32

120-14-35132

COVER

SN: 10001-UP

1шт.

33

141-14-32461

GASKET

SN: 10001-UP

1шт.

34

120-14-35260

PLATE

SN: 10001-UP

1шт.

35

01010-51016

BOLT

SN: 10001-UP

1шт.

36

01010-51025

BOLT

SN: 10001-UP

5шт.

37

01010-51040

BOLT

SN: 10001-UP

2шт.

38

01602-21030

WASHER,SPRING

SN: 10001-UP

8шт.

39

07030-00252

BREATHER

SN: 10001-UP

1шт.

40

120-14-35161

PLATE

SN: 10001-UP

1шт.

41

141-14-32521

GASKET

SN: 10001-UP

1шт.

42

01010-51025

BOLT

SN: 10001-UP

4шт.

43

01602-21030

WASHER,SPRING

SN: 10001-UP

4шт.

Выбрано товаров: 45