Запчасти Komatsu D40PL-5 РУЛЕВ. УПРАВЛЕНИЕ МЕХ-М УПРАВЛ-Я (/) СИСТЕМА УПРАВЛЕНИЯ

Схема запчастей Komatsu D40PL-5 - РУЛЕВ. УПРАВЛЕНИЕ МЕХ-М УПРАВЛ-Я (/) СИСТЕМА УПРАВЛЕНИЯ
FIT
1:1
100%

Артикул

Название

Примечание

Количество

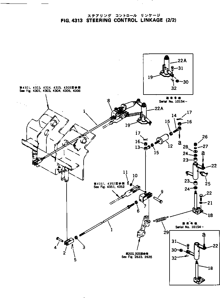
1

04248-31491

ROD

SN: 10001-UP

2шт.

2

04221-21478

YOKE,L.H. THREAD

SN: 10001-UP

2шт.

3

01508-31408

NUT,L.H. THREAD

SN: 10001-UP

2шт.

4

04205-11438

PIN

SN: 10001-UP

2шт.

5

04050-14025

PIN,COTTER

SN: 10001-UP

2шт.

6

01582-11411

NUT

SN: 10001-UP

2шт.

7

120-43-39152

LEVER,L.H.

SN: 10001-UP

1шт.

8

120-43-39162

LEVER,R.H.

SN: 10001-UP

1шт.

9

120-43-34891

PIN

SN: 10001-UP

2шт.

10

01641-21423

WASHER

SN: 10001-UP

2шт.

11

04050-14025

PIN,COTTER

SN: 10001-UP

2шт.

12

120-43-39131

COUPLING,LOOSE

SN: 10001-UP

2шт.

13

04250-41265

END,ROD

SN: 10001-UP

2шт.

14

04252-01269

END,ROD

SN: 10001-UP

2шт.

15

01582-11210

NUT

SN: 10001-UP

4шт.

16

01593-11210

NUT

SN: 10001-UP

4шт.

17

04050-13020

PIN,COTTER

SN: 10001-UP

4шт.

18

120-43-39113

BRACKET,L.H.

SN: 10154-UP

1шт.

|18

120-43-39112

BRACKET,L.H.

SN: 10001-10153

1шт.

19

124-43-39352

BRACKET,R.H.

SN: 10154-UP

1шт.

|19

124-43-34151

BRACKET,R.H.

SN: 10001-10153

1шт.

20

01010-51230

BOLT

SN: 10001-UP

4шт.

21

01602-21236

WASHER,SPRING

SN: 10001-UP

4шт.

22

120-43-39381

LEVER,L.H.

SN: 10154-UP

1шт.

|22

120-43-39121

LEVER,L.H.

SN: 10001-10153

1шт.

22A

120-43-39391

LEVER,R.H.

SN: 10154-UP

1шт.

|22A

120-43-39121

LEVER,R.H.

SN: 10001-10153

1шт.

23

06120-02016

BEARING,NEEDLE

SN: 10001-UP

4шт.

24

06122-02004

SEAL,BEARING

SN: 10001-UP

4шт.

25

07020-00900

FITTING,GREASE

SN: 10001-UP

2шт.

26

01580-11210

NUT

SN: 10001-UP

2шт.

27

01602-21236

WASHER,SPRING

SN: 10001-UP

2шт.

28

202-54-11281

WASHER

SN: 10001-UP

2шт.

29

195-43-12421

SPRING

SN: 10001-UP

2шт.

30

103-43-21380

ROLLER

SN: 10154-UP

2шт.

31

103-43-21390

PIN

SN: 10154-UP

2шт.

32

04050-01610

PIN,COTTER

SN: 10154-UP

2шт.

Выбрано товаров: 37